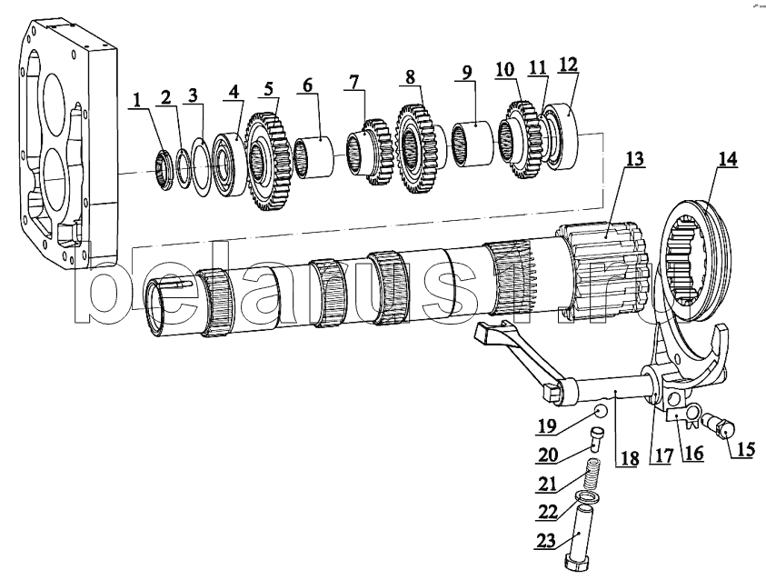
Каталог запасных частей к технике: МТЗ 2122.3/2122.4. Узел передач. Вал промежуточный

1
2
3
4
5
6
7
8
9
10
11
11
11
12
13
14
15
16
17
18
19
20
21
22
23
Позиция на иллюстрации | Заводской номер детали | Название детали | |
---|---|---|---|
2422-1701020 | 2422-1701020 | Узел передач | |
1 | 80-1701047 | Заказать | Гайка |
2 | 80-1701186 | Шайба | |
3 | 1222-1701033 | Заказать | Шайба |
4 | 9211.23 | Подшипник QJ 311 | |
5 | 2125-1701212 | Шестерня | |
6 | 2025-1701213 | Втулка | |
7 | 2125-1701219 | Шестерня | |
8 | 2025-1701214 | Шестерня | |
9 | 2025-1701217 | Втулка | |
10 | 2125-1701216 | Шестерня | |
11 | 1222-1701223-01 | Шайба | |
11 | 1222-1701223 | Шайба | |
12 | 9217.01 | Подшипник 22214 | |
13 | 2025-1701182 | Вал | |
14 | 80-1701184 | Заказать | Муфта |
15 | 80-1702108 | Заказать | Болт |
16 | 220-3503024 | Пластина стопорная | |
17 | 85-1702034 | Вилка | |
18 | 2022-1702038 | Поводок | |
19 | Шарик10,0-60 | Шарик 10,0-60 | |
20 | 80-1704039 | Заказать | Направляющая |
21 | 50-1702148-А | Заказать | Пружина фиксатора |
22 | 85-1702051 | Шайба | |
23 | БолтМ12-6gх55.88.35.019 | Болт М12-6gх55.88.35.019 |
Содержащиеся в справочниках-каталогах запасные части и детали не предлагаются к продаже, а носят исключительно информационный характер