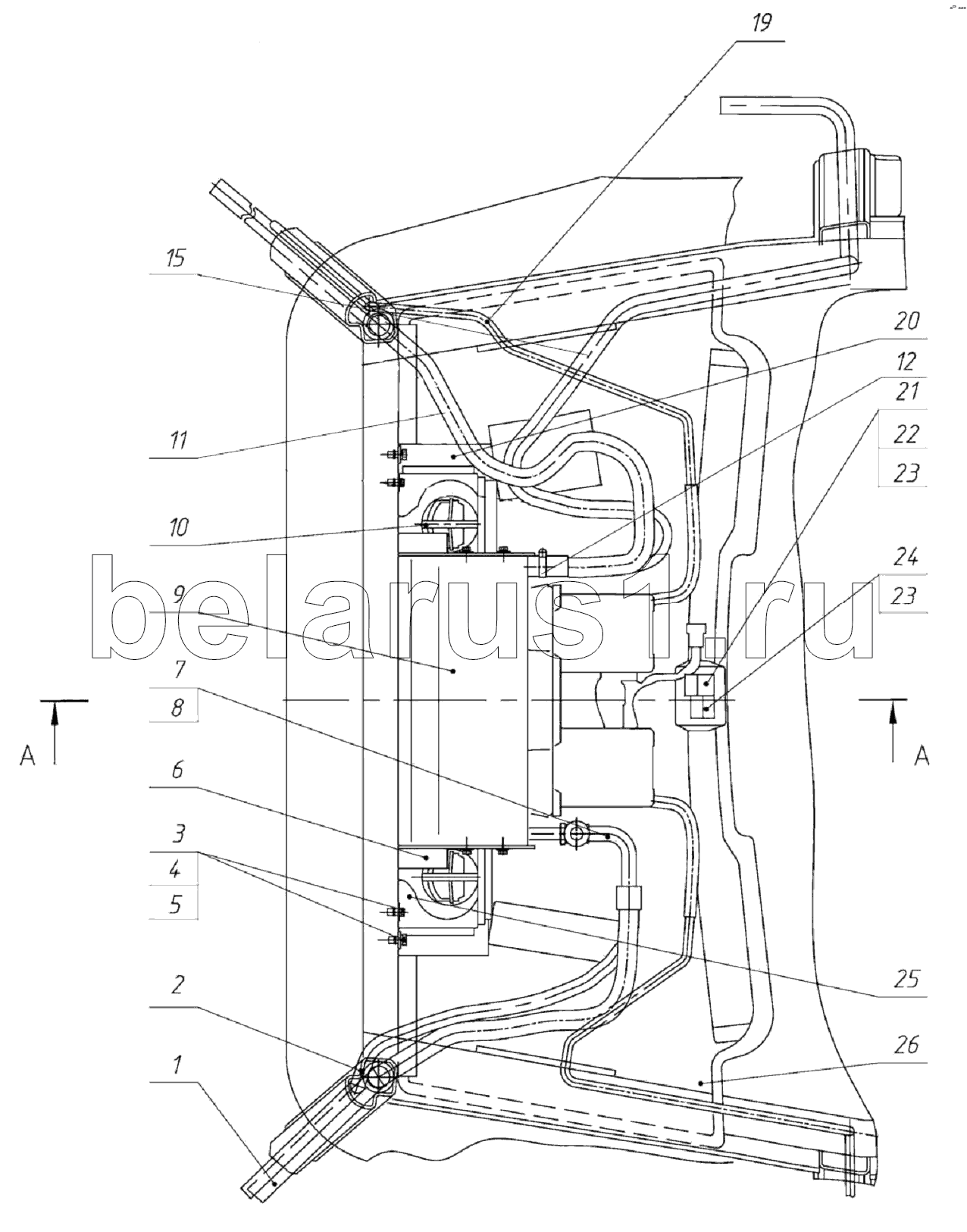
Каталог запасных частей к технике: МТЗ 3022ДЦ.1. Установка отопителя-охладителя (Вариант А)

1
2
3
4
5
6
7
8
9
10
11
12
15
19
20
21
22
23
23
24
25
26
26
26
26
26
Позиция на иллюстрации | Заводской номер детали | Название детали | |
---|---|---|---|
1 | 90010GN | Шланг N10 | |
2 | 90006GN | Шланг № 6 90006GN | |
3 | БолтМ8-6gх25.88.35.019 | Болт | |
4 | ШайбаС6.01.019 | Шайба | |
5 | Шайба6Т | Шайба | |
6 | 3022-8101020 | Кронштейн | |
7 | 70110FG027 | Фитинг | |
8 | 70106FG014 | Фитинг | |
9 | U003CF041Е | Климатический блок | |
10 | 1522-8104100 | Дефлектор | |
11 | 2822ДЦ-8100014 | Шланг | |
12 | Хомут20-32/9-C6W | Хомут с червячной резьбой 20-32/9-C6W | |
15 | 2822ДЦ-8100014-01 | Шланг | |
19 | 3022-8101012 | Трубка | |
20 | 3022-8101020-01 | Кронштейн | |
21 | 0682164 | Выключатель вентилятора | |
22 | 067060/1 | Табличка темп./скорость | |
23 | 068407/0 | Ручка элемента управления | |
24 | 068011/1 | Термостат | |
25 | 3022-8101017 | Стенка | |
26 | 1522-8101110-Б | Стенка | |
26 | 1522П-8101110 | Панель | |
26 | ОТ1522-8101110 | Панель |
Содержащиеся в справочниках-каталогах запасные части и детали не предлагаются к продаже, а носят исключительно информационный характер