Каталог запасных частей к технике: МТЗ 800/900. Баки топливные

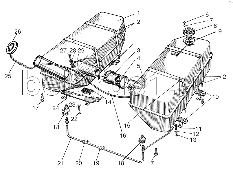
1
2
2
3
4
5
5а
6
7
8
8
9
10
11
12
13
14
15
16
17
17
18
18
19
20
21
22
23
24
25
26
27
28
29
Позиция на иллюстрации | Заводской номер детали | Название детали | |
---|---|---|---|
70-1101005 | 70-1101005 | Баки | |
1 | 70-1101020 | Заказать | Бак |
2 | 70-1101070 | Заказать | Хомут |
3 | 70-1101035-Б | Заказать | Рукав |
4 | xС-66 | Хомут | |
5 | 70-1101010 | Бак | |
5а | 80-1101010 | Бак правый | |
6 | ВМ5x10 | Винт | |
7 | 80-1101067 | Шайба | |
8 | АР70.3827 | Бензомер | |
8 | ДУМП-19 | Заказать | Бензомер |
9 | 200-3806026 | Прокладка | |
10 | 80-1101250-Б | Заказать | Кронштейн правый |
11 | М10x25 | Болт | |
12 | ШП10 | Шайба | |
13 | М10 | Гайка | |
14 | 80-1101012-Б | Заказать | Прокладка |
15 | ПР-36-01 | Заказать | Прокладка |
16 | 85-1101002-02 | Трубка | |
17 | 50-1101081-Б | Штуцер | |
11,113-100 | 11,113-100 | Шарик | |
18 | КР-25 | Кран | |
19 | 70-1101042 | Скоба | |
20 | 50-1111102-01 | Прокладка | |
21 | 70-1101345-Б1 | Заказать Заказать Заказать | Трубопровод |
22 | ШП12 | Шайба | |
23 | М12x30 | Болт | |
24 | 80-1101280-Б | Заказать | Кронштейн левый |
25 | 36-1101070 | Цепочка | |
26 | 082-1103010 | Заказать Заказать Заказать Заказать | Пробка |
27 | 36-1104787 | Заказать | Болт |
28 | 36-1104788 | Прокладка | |
29 | 70-1104180 | Заказать | Трубка |
Содержащиеся в справочниках-каталогах запасные части и детали не предлагаются к продаже, а носят исключительно информационный характер