Каталог запасных частей к технике: МТЗ 800/900. Тент-каркас. Основание

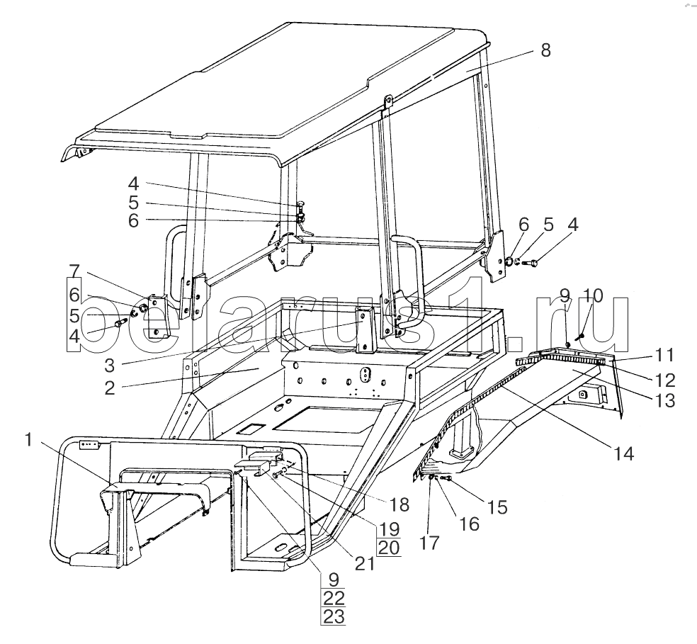
1
2
3
4
4
4
5
5
5
6
6
6
7
8
9
9
10
11
11
12
13
13
14
15
16
17
18
18
19
20
21
21
22
23
Позиция на иллюстрации | Заводской номер детали | Название детали | |
---|---|---|---|
80-6700510 | 80-6700510 | Тент-каркас с основанием в сборе | |
1 | 80-6703056 | Вставка | |
2 | 80-6702510 | Основание | |
3 | 80-6700511 | Накладка | |
4 | М12x25 | Болт | |
5 | ШП12 | Шайба | |
6 | ШЧ12 | Шайба | |
7 | 80-6700511-01 | Накладка | |
8 | 80-6701505 | Каркас | |
9 | ШЧ6 | Шайба | |
10 | М6x16 | Болт | |
11 | 80-8404020-Б | Заказать | Закрылок левый |
11 | 80-8404020-Б-01 | Заказать | Закрылок правый |
12 | 80-8404014-А | Заказать | Уплотнитель |
13 | 80-8404011-Б-01 | Заказать | Крыло правое |
13 | 80-8404011-Б | Заказать | Крыло левое |
14 | 80-8404013-А | Заказать | Уплотнитель |
15 | М8x20 | Болт | |
16 | ШП8 | Шайба | |
17 | ШЧ8 | Шайба | |
18 | 85-3712041-01 | Заказать | Кронштейн левый |
18 | 85-3712041 | Заказать | Кронштейн правый |
19 | М8x14 | Болт | |
20 | М8 | Гайка | |
21 | BracketRH | Bracket | |
21 | BracketLH | Bracket | |
22 | ВМ6x18 | Винт | |
23 | ШП6 | Шайба |
Содержащиеся в справочниках-каталогах запасные части и детали не предлагаются к продаже, а носят исключительно информационный характер