Каталог запасных частей к технике: МТЗ 892. Баки топливные (пластмассовые)

1
1
2
3
4
4
4
5
5
6
7
8
8
8
9
10
11
11
12
13
13
14
15
16
17
18
18
19
20
20
21
22
23
24
25
26
27
28
28
29
30
31
32
33
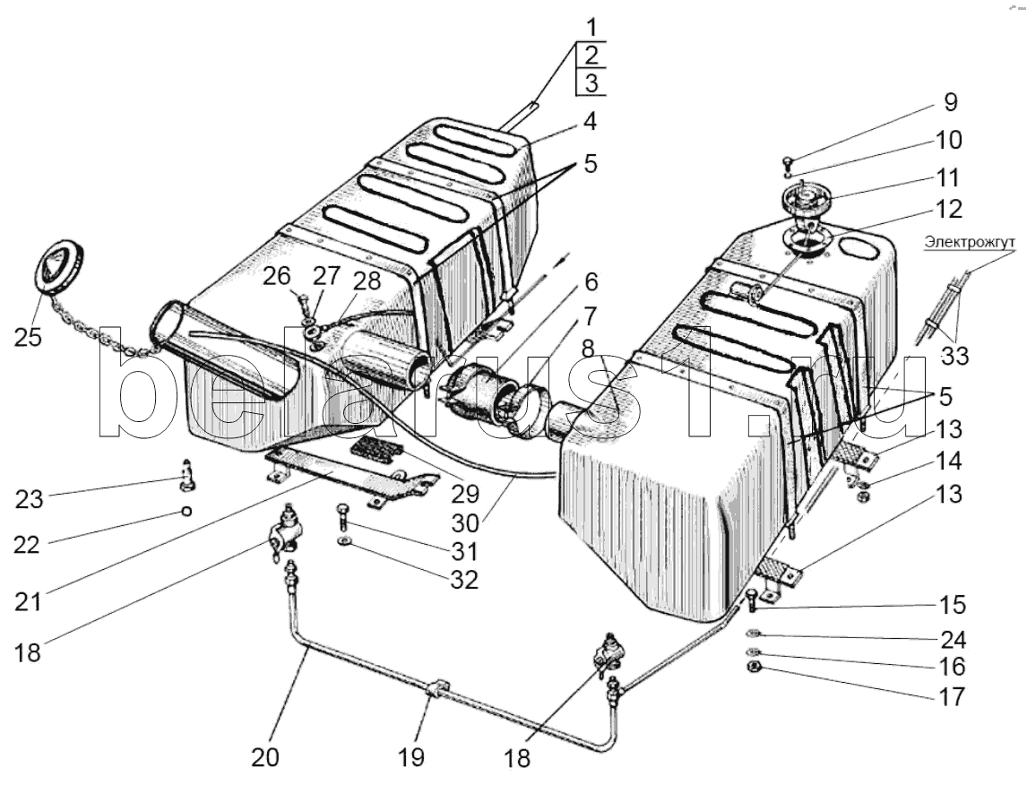
Позиция на иллюстрации | Заводской номер детали | Название детали | |
---|---|---|---|
70-1101005-05 | 70-1101005-05 | Заказать | Баки (пластмассовые) |
80-1101100 | 80-1101100 | Установка топливопровода | |
1 | 920П-1101240-05 | Топливопровод | |
1 | 920-1101240-05 | Топливопровод | |
2 | Д18-051 | Болт | |
3 | РМ14 | Шайба | |
4 | 80-1101510 | Бак (пластиковый) | |
4 | ЯВАГ80-1101510 | Бак | |
4 | ТА80-1101510 | Бак | |
5 | 70-1101070 | Заказать | Хомут |
6 | 70-1101035-Б | Заказать | Рукав |
7 | ХС-66 | Хомут | |
8 | 80-1101520 | Бак пластиковый | |
8 | ТА80-1101520 | Бак | |
8 | ЯВАГ80-1101520 | Бак | |
9 | В.М5-6gх16.58.019 | Винт | |
10 | 80-1101067 | Шайба | |
11 | ДУМП-21М | Заказать | Датчик уровня топлива |
11 | АР70.3827-01 | Датчик указателя уровня топлива | |
12 | 200-3806026 | Прокладка | |
13 | 80-1101250-Б | Заказать | Кронштейн правый |
14 | 10Л | Шайба ОСТ 37.001.115-75 | |
15 | М10-6gх25.88.35.019 | Болт | |
16 | 10.ОТ | Шайба | |
17 | М10-6Н.6.019 | Гайка | |
18 | ПП6-1-0 | Кран | |
19 | 70-1101042 | Скоба | |
20 | 920-1101210 | Топливопровод | |
20 | 920П-1101210 | Заказать | Топливопровод |
21 | 80-1101280-Б | Заказать | Кронштейн левый |
22 | 11,112-100 | Шарик | |
23 | 822-1101081 | Заказать | Штуцер |
24 | С10.01.019 | Шайба | |
25 | 082-1103010 | Заказать Заказать Заказать Заказать | Пробка |
26 | 36-1104787 | Заказать | Болт |
27 | РМ10 | Шайба | |
28 | 920-1101160-05 | Заказать | Топливопровод |
28 | 920Б-1101160-05 | Топливопровод | |
29 | 80-1101012-Б | Заказать | Прокладка |
30 | 80-8101015-02 | Шланг | |
31 | М12-6gх30.88.35.019 | Болт | |
32 | 12.ОТ | Шайба | |
33 | 80-3723045 | Манжета |
Содержащиеся в справочниках-каталогах запасные части и детали не предлагаются к продаже, а носят исключительно информационный характер