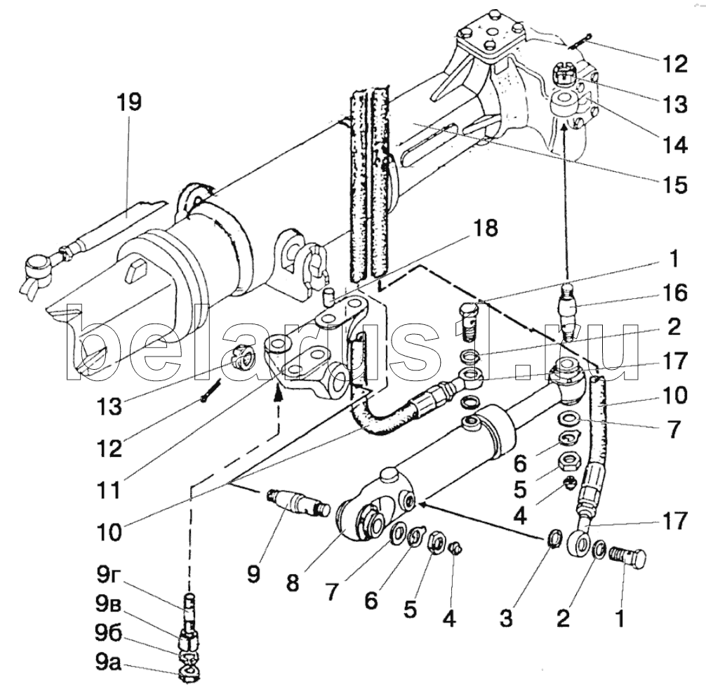
Каталог запасных частей к технике: МТЗ 892. Гидроцилиндр Ц63 и арматура ГОРУ

1
1
2
2
3
4
4
5
5
6
6
7
7
8
9
9а
9б
9в
9г
10
10
11
12
12
13
13
14
15
16
17
17
18
19
Позиция на иллюстрации | Заводской номер детали | Название детали | |
---|---|---|---|
1 | Ф80-3407201 | Заказать | Болт |
2 | РМ3/8 | Шайба | |
3 | РМ3/8 | Шайба | |
4 | 1.1.Ц9.хр | Масленка | |
5 | М20х1,5-6Н.6.019 | Гайка | |
6 | Ф80-3405103 | Шайба стопорная | |
7 | С20.01.019 | Шайба | |
8 | Ц63-3405115-А-02 | Гидроцилиндр в сборе | |
9 | 102-3405111 | Заказать Заказать Заказать | Палец |
9а | М16-6Н.6.019 | Гайка | |
9б | 16.ОТ | Шайба | |
9в | 1520-2308077 | Заказать | Втулка |
9г | 1520-2308079 | Заказать | Шпилька |
10 | 952-3407100-04 | Рукав высокого давления | |
11 | 822-2301023-Б-01 | Заказать | Кронштейн |
12 | Шплинт4x36.019 | Шплинт | |
13 | 102-3405113 | Заказать | Гайка |
14 | 1021-2308076 | Заказать | Кронштейн левый |
15 | 822-2300020-02 | Передний ведущий мост в сборе | |
16 | 102-3405112-01 | Заказать Заказать | Палец |
17 | 952-3407020 | Заказать | Переходник |
18 | Д01-015 | Заказать | Штифт установочный |
19 | 1220-3003010 | Заказать Заказать Заказать Заказать Заказать Заказать | Тяга рулевая |
Содержащиеся в справочниках-каталогах запасные части и детали не предлагаются к продаже, а носят исключительно информационный характер