Каталог запасных частей к технике: МТЗ 892. Управление синхронизированным реверс-редуктором

1
2
2
3
3
4
4
5
5
6
6
7
7
8
9
9
10
11
12
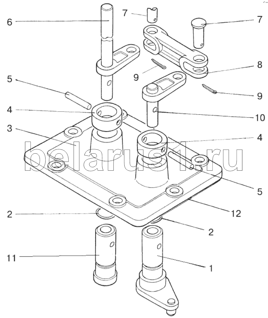
Позиция на иллюстрации | Заводской номер детали | Название детали | |
---|---|---|---|
1 | 74-1723140 | Заказать | Рычаг |
2 | 020-025-30-1-4 | Кольцо | |
3 | Р70-1723010 | Заказать | Крышка |
3 | Р70-1723015 | Крышка | |
4 | 70-1723032 | Заказать | Втулка |
5 | 70-1723012 | Заказать | Штифт 6х36.88.016 |
6 | Р70-1723030 | Рычаг | |
6 | Р70-1723065 | Рычаг | |
7 | 10х28 | Палец | |
8 | Р70-1723013 | Планка | |
9 | 3,2х18.019 | Шплинт | |
10 | Р70-1723020 | Ось | |
11 | Р70-1723011 | Ось рычага | |
12 | 50-1601347 | Прокладка |
Содержащиеся в справочниках-каталогах запасные части и детали не предлагаются к продаже, а носят исключительно информационный характер