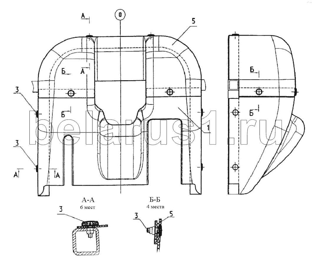
Каталог запасных частей к технике: МТЗ 923.4. Облицовка

1
1
3
3
3
3
5
5
Позиция на иллюстрации | Заводской номер детали | Название детали | |
---|---|---|---|
2522-6700300-А | 2522-6700300-А | Облицовка | |
2522-6700300-А-02 | 2522-6700300-А-02 | Панель | |
1 | 2522-6700305-А | Панель | |
1 | 2522-6700305-А-02 | Панель | |
3 | 80-3805065 | Винт | |
5 | 2522-6700310-А-01 | Панель |
Содержащиеся в справочниках-каталогах запасные части и детали не предлагаются к продаже, а носят исключительно информационный характер