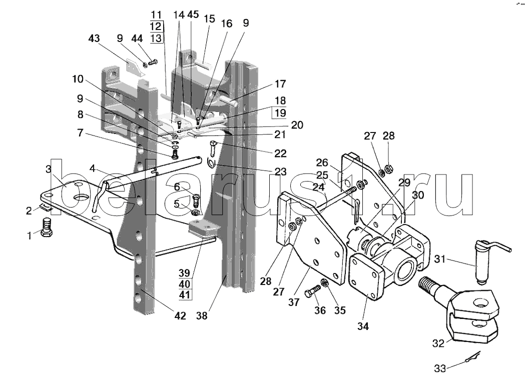
Каталог запасных частей к технике: МТЗ 923.4. Тягово-сцепное устройство

1
2
3
4
5
6
7
8
9
9
9
10
11
12
13
14
15
16
17
18
19
20
21
22
23
24
25
26
27
27
28
28
29
30
31
32
33
34
35
36
37
38
39
40
41
42
43
44
45
Позиция на иллюстрации | Заводской номер детали | Название детали | |
---|---|---|---|
1322-2707210 | 1322-2707210 | Тягово-сцепное устройство | |
1 | 1321-2707014 | Заказать | Болт |
2 | 1222-2707137 | Пластина | |
3 | 1321-2707011-Б | Плита | |
4 | 1321-2707030 | Палец | |
5 | 16.ОТ | Шайба | |
6 | 1220-4605506 | Заказать | Болт |
7 | М6-6gх18.88.35.019 | Болт | |
8 | С6.01.019 | Шайба | |
9 | 6Т | Шайба | |
10 | М6-6Н.6.019 | Гайка | |
11 | 921-2707068-02 | Шпилька | |
12 | М20-6Н.6.019 | Гайка | |
13 | 20.ОТ | Шайба | |
14 | 1321-2707083-Б | Скоба | |
15 | 921-2707068 | Шпилька | |
16 | М6-6gх12.88.35.019 | Болт ГОСТ 7796-70 | |
17 | 921-2707068-03 | Шпилька | |
18 | 1322-2707274 | Стяжка | |
19 | 1322-2707211 | Втулка | |
20 | 1322-2707280 | Щиток в сборе | |
21 | А.6х30.65Г | Штифт | |
22 | А61.05.005 | Заказать | Чека |
23 | А61.05.004 | Кольцо | |
24 | 1522-2707244 | Заказать | Стяжка |
25 | 6,3х63.019 | Шплинт | |
26 | 1321-2707070-Б-01 | Пластина | |
27 | 16.ОТ | Шайба | |
28 | М16-6Н.6.019 | Гайка | |
29 | 1522-2707243 | Заказать | Гайка |
30 | 1522-2707242 | Шайба | |
31 | 1522-2707079-А | Шкворень | |
32 | 921-2707055 | Вилка | |
33 | А61.07.001-А | Шплинт | |
34 | 1321-2707051-Б | Кронштейн | |
35 | 20.ОТ | Шайба | |
36 | 680-2707024 | Заказать | Болт |
37 | 1321-2707070-Б | Пластина | |
38 | 1322-2707261 | Боковина | |
39 | 900-2707135 | Пластина | |
40 | 900-2707135-01 | Пластина | |
41 | 900-2707135-02 | Пластина | |
42 | 1322-2707261-01 | Боковина | |
43 | 1322-2707262-01 | Кронштейн | |
44 | М6-6gх16.88.35.019 | Болт | |
45 | 1322-2707262 | Кронштейн |
Содержащиеся в справочниках-каталогах запасные части и детали не предлагаются к продаже, а носят исключительно информационный характер