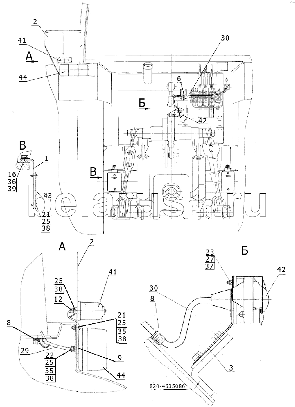
Каталог запасных частей к технике: МТЗ 923.4. Установка фонарей задних

1
2
2
3
6
8
8
9
12
16
21
21
22
23
25
25
25
25
27
29
30
30
35
35
36
37
38
38
38
38
39
41
41
41
41
41
41
42
42
42
42
43
44
44
44
44
Позиция на иллюстрации | Заводской номер детали | Название детали | |
---|---|---|---|
1222-3700060-02 | 1222-3700060-02 | Установка фонарей задних | |
1 | Ф50-3731011 | Кронштейн | |
2 | 923-3716011 | Кронштейн | |
3 | 923-3723041 | Кронштейн | |
6 | 80-3723045-01 | Манжета | |
8 | 70-1115012-04 | Хомутик | |
9 | 80-6708904 | Заказать | Прокладка |
12 | 54.24.445-Б | Наконечник | |
16 | М8-6gх14.88.35.019 | Болт | |
21 | В.М6-6gх16.58.019 | Винт | |
22 | В.М6-6gх25.58.019 | Винт | |
23 | В.М5-6gх35.58.019 | Винт | |
25 | М6-6Н.6.019 | Гайка | |
27 | М5-6Н.6.019 | Гайка ГОСТ 5915-70 | |
29 | 923-3724160-Б | Жгут | |
30 | 923-3724203 | Жгут розетки прицепа | |
35 | С.6.01.019 | Шайба | |
36 | С8.01.019 | Шайба | |
37 | 5Т | Шайба | |
38 | 6Т | Шайба | |
39 | 8Т | Шайба | |
41 | 112.00.05-01 | Заказать | Фонарь освещения номерного знака |
41 | 2102.3.04.17 | Фонарь освещения номерного знака | |
41 | ФП131АР | Фонарь освещения номерного знака | |
42 | 302.3.04.23 | Розетка прицепа | |
42 | Р9-1 | Заказать | Розетка |
43 | 3202.3731 | Световозвращатель | |
44 | 7303.3716 | Заказать Заказать | Фонарь задний |
44 | 3302.3716-20 | Фонарь задний |
Содержащиеся в справочниках-каталогах запасные части и детали не предлагаются к продаже, а носят исключительно информационный характер