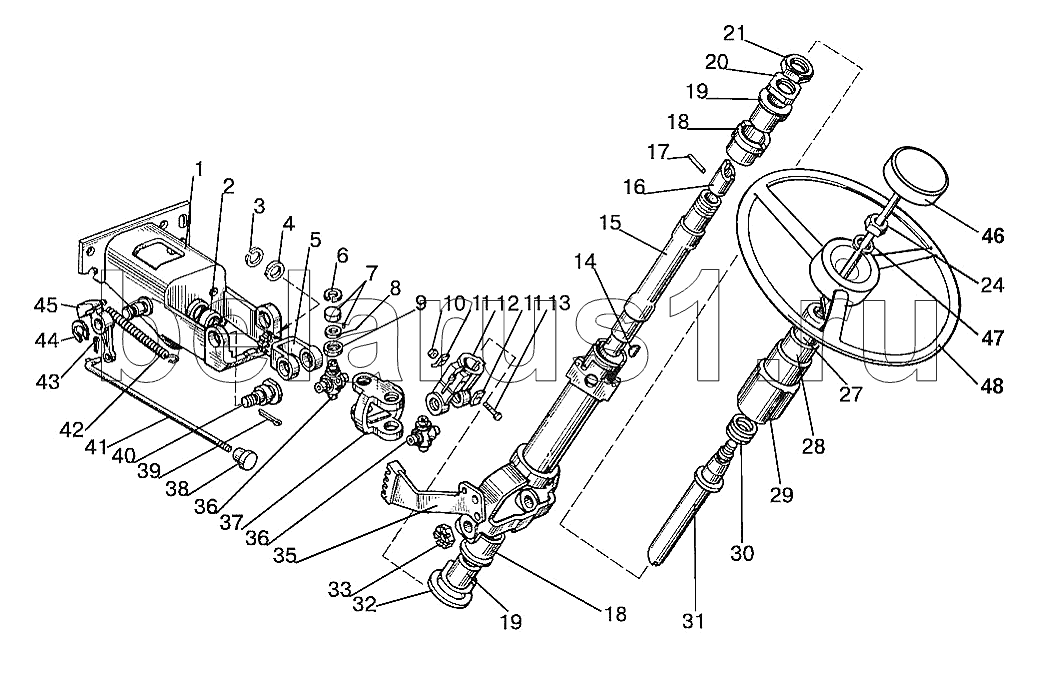
Каталог запасных частей к технике: МТЗ 92П. Колонка рулевая

1
2
3
4
5
6
7
8
9
10
11
11
12
13
14
15
16
17
18
18
19
19
20
21
24
27
28
29
30
31
32
33
35
36
36
37
38
39
40
41
42
43
44
45
46
47
48
48
Позиция на иллюстрации | Заводской номер детали | Название детали | |
---|---|---|---|
85П-3401000-02 | 85П-3401000-02 | Колонка рулевая | |
85-3401010 | 85-3401010 | Заказать | Колонка рулевая для насоса-дозатора НД-80 и щитка приборов 80-3805010 в сборе |
70-3401050-Б | 70-3401050-Б | Вал со штифтом и хвостовиком в сборе | |
85-3401150 | 85-3401150 | Заказать Заказать | Кардан для ОSРВ-100 в сборе |
1 | 85-3401120 | Заказать Заказать | Кронштейн |
2 | 85-3401016 | Заказать | Втулка |
3 | С20 | Кольцо | |
4 | 80-3401019 | Шайба | |
5 | 85-3401156-Б | Вилка (ОSРВ-100) | |
6 | С19 | Кольцо | |
7 | 904700УС17 | Подшипник | |
8 | 50-3401064 | Сальник | |
9 | 50-3401063 | Обойма | |
10 | М10-6Н.04.019 | Гайка | |
11 | 80-3401013 | Шайба | |
12 | 50-3401061-A | Вилка | |
13 | М10-6gх45.88.35.019 | Болт ГОСТ 7796-70 | |
14 | СШ-510 | Заказать | Шпонка |
15 | 70-3401055 | Заказать | Вал промежуточный |
16 | 70-3401054-Б | Заказать | Хвостовик вала |
17 | ШЦК8х36 | Штифт | |
18 | 70-3401077-Б | Заказать | Амортизатор |
19 | 70-3401076 | Заказать | Втулка |
20 | 70-3401078 | Заказать | Гайка |
21 | 70-3401079 | Заказать | Контргайка |
24 | М16х1,5-6Н.6.019 | Гайка | |
27 | 80-3709025 | Заказать | Втулка |
28 | 80-3709026-Б | Втулка | |
29 | 80-3709024 | Чехол | |
30 | 50-4608057 | Пружина | |
31 | 85-3401175 | Заказать | Вал |
32 | 600-3401012 | Шайба | |
33 | 70-3003032 | Заказать | Гайка |
35 | 85-3401080 | Труба с заклепкой и сектором в сборе | |
36 | 50-3401062 | Заказать Заказать Заказать | Крестовина |
37 | 85-3401067 | Заказать | Вилка |
38 | 70-4803060 | Заказать | Рукоятка |
39 | Шплинт4x25.019 | Шплинт | |
40 | 85-3401011 | Винт | |
41 | 822-3401001-03 | Тяга | |
42 | 50-1310158-Б | Пружина | |
43 | 1,6x12.019 | Шплинт | |
44 | С18 | Кольцо | |
45 | 85-3401014-01 | Фиксатор | |
46 | 822-3401140-А1 | Зажим | |
47 | Шайба16.ОТ | Шайба | |
48 | 85-3402015 | Колесо рулевое | |
48 | 70-3402015-А | Рулевое колесо |
Содержащиеся в справочниках-каталогах запасные части и детали не предлагаются к продаже, а носят исключительно информационный характер