Каталог запасных частей к технике: МТЗ 952.5. Установка охладителя

1
2
2
2
3
3
3
3
4
5
6
6
6
6
7
8
8
9
9
9
10
11
12
13
14
15
16
16
16
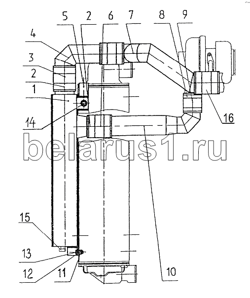
Позиция на иллюстрации | Заводской номер детали | Название детали | |
---|---|---|---|
1025-1317010 | 1025-1317010 | Установка охладителя наддувочного воздуха | |
1 | 1025-1317100 | Заказать | Охладитель наддувочного воздуха |
2 | 60-80/12-C7W1 | Хомут с червячной резьбой 60-80/12 | |
2 | 60-80/1271 | Хомут с червячной резьбой 60-80/12 | |
3 | 60-80-С | Патрубок силиконовый | |
3 | 978059079 | Патрубок силиконовый | |
3 | PR001-60-80-PES | Патрубок термостойкий | |
3 | 270003151-А | Патрубок силиконовый | |
4 | 1025П-1317600 | Воздуховод | |
5 | 1025-1317735 | Кронштейн | |
6 | 270003151-В | Патрубок силиконовый 60x80 красный | |
6 | PR001-60-80-MA | Патрубок силиконовый 60x80 красный | |
6 | 978060082 | Патрубок силиконовый 60x80 красный | |
6 | 60-80-К | Патрубок силиконовый 60x80 красный | |
7 | 1025-1317610 | Воздухопровод | |
8 | TORRO50-70/12-C7W1 | Хомут с червячной резьбой | |
8 | TORRO50-70/1271 | Хомут с червячной резьбой | |
9 | 270003194-В | Патрубок силиконовый 50x100 красный | |
9 | PR001-50-100-MA | Патрубок термостойкий | |
9 | 50-100-К | Патрубок силиконовый 50x100 красный | |
10 | 1025П-1317620 | Заказать | Воздуховод |
11 | М8-6Н.6.019 | Гайка | |
12 | С8.01.019 | Шайба | |
13 | 8Т | Шайба | |
14 | М8-6gх25.88.35.019 | Болт | |
15 | КГ1/4dm.А12.019 | Пробка | |
16 | PR001-63-80-PES | Патрубок силиконовый 63x80 синий | |
16 | 270003191-А | Патрубок силиконовый 63x80 синий | |
16 | 63-80-С | Патрубок силиконовый 63x80 синий |
Содержащиеся в справочниках-каталогах запасные части и детали не предлагаются к продаже, а носят исключительно информационный характер