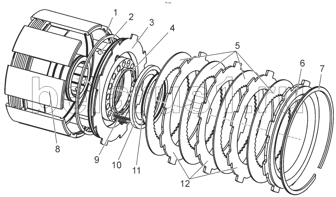
Каталог запасных частей к технике: МТЗ БЕЛАРУС 2103. Фрикцион. Поршень

2025-1701070
80-1701380
1
2
3
4
5
6
7
8
9
10
11
12
Позиция на иллюстрации | Заводской номер детали | Название детали | |
---|---|---|---|
2025-1701070 | 2025-1701070 | Фрикцион | |
80-1701380 | 80-1701380 | Поршень с шариком в сборе | |
1 | 80-1701382 | Кольцо | |
2 | Шарик 7,144-60 | Шарик | |
3 | 80-1701374 | Поршень | |
4 | 142-1701381 | Заказать | Кольцо |
5 | 696392А0c | Диск фрикционный | |
6 | 80-1701379 | Заказать | Диск упорный |
7 | 80-1701392 | Кольцо | |
8 | 2025-1701372 | Барабан | |
9 | 80-1701395 | Заказать | Пружина |
10 | 80-1701373 | Опора | |
11 | С80 | Кольцо | |
12 | 556715 | Диск ведущий |
Содержащиеся в справочниках-каталогах запасные части и детали не предлагаются к продаже, а носят исключительно информационный характер