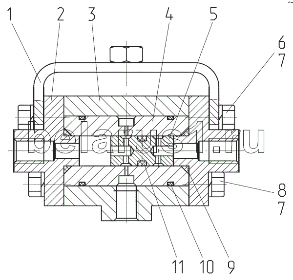
Каталог запасных частей к технике: МТЗ БЕЛАРУС 3522.5. Кран

1
2
3
4
5
6
7
7
8
9
10
11
Позиция на иллюстрации | Заводской номер детали | Название детали | |
---|---|---|---|
2822-1602100-Б | 2822-1602100-Б | Кран | |
1 | 2822-1602110 | Кронштейн | |
2 | 2822-1602103-Б | Крышка | |
3 | 2822-1602101-Б | Корпус | |
4 | 2822-1602102 | Корпус | |
5 | 2822-1602104 | Поршень | |
6 | Болт М6-6дх25.58.35.019 | Болт | |
7 | Шайба 6Т | Шайба 6Т | |
8 | Болт М6-6дх20.88.35.019 | Болт | |
9 | OR EPDM70 01150250 | Кольцо | |
10 | OR EPDM70 02500200 | Кольцо | |
11 | OR EPDM70 00800250 | Кольцо |
Содержащиеся в справочниках-каталогах запасные части и детали не предлагаются к продаже, а носят исключительно информационный характер