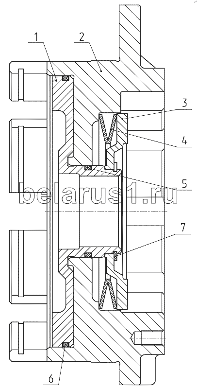
Каталог запасных частей к технике: МТЗ БЕЛАРУС 3525. Корпус 1025-4202025-Б

1
2
3
4
5
6
7
Позиция на иллюстрации | Заводской номер детали | Название детали | |
---|---|---|---|
1025-4202025-Б | 1025-4202025-Б | Корпус | |
1 | 1025-4202002 | Поршень | |
2 | 1025-4202006-Б | Корпус | |
3 | 1025-4202021 | Диск нажимной | |
4 | 420-4202034 | Пружина тарельчатая | |
5 | 055-061-36-2-2 | Кольцо | |
6 | 175-180-36-2-2 | Заказать | Кольцо |
7 | 2С56 | Кольцо |
Содержащиеся в справочниках-каталогах запасные части и детали не предлагаются к продаже, а носят исключительно информационный характер