Каталог запасных частей к технике: МТЗ БЕЛАРУС 3525. Зеркало наружное САКД 458201.050

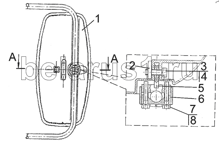
1
2
3
4
5
6
7
8
Позиция на иллюстрации | Заводской номер детали | Название детали | |
---|---|---|---|
1 | САКД 458201.050 | Зеркало наружное | |
2 | САКД 458201.075 | Пластина | |
3 | М8х35 | Болт | |
4 | ШП 8 | Шайба | |
5 | САКД 458201.062 | Кронштейн | |
6 | САКД 458201.064 | Втулка | |
7 | М6х40 | Болт | |
8 | ШП 6 | Шайба |
Содержащиеся в справочниках-каталогах запасные части и детали не предлагаются к продаже, а носят исключительно информационный характер