Каталог запасных частей к технике: МТЗ БЕЛАРУС 651. Пневмопривод

1
2
3
4
5
6
7
8
8
9
10
11
12
13
14
15
16
17
18
19
20
21
22
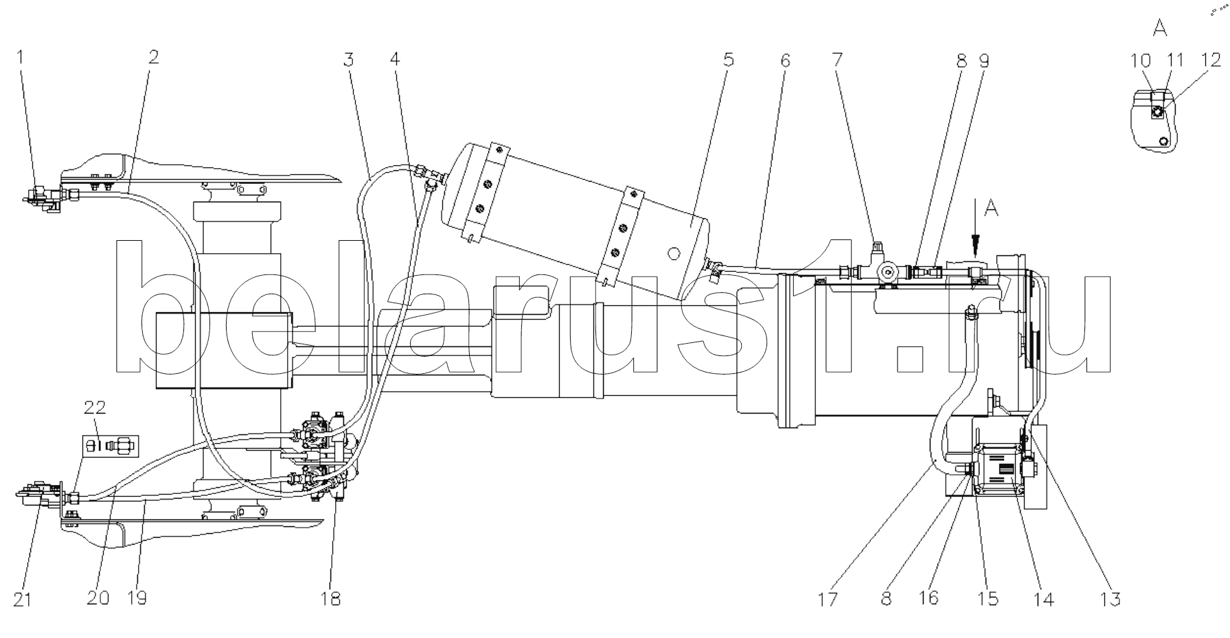
Позиция на иллюстрации | Заводской номер детали | Название детали | |
---|---|---|---|
651-3506705 | 651-3506705 | Пневмопривод | |
1 | 422-3521710 | Головка соединительная | |
2 | 3520-3506020 | Трубопровод | |
3 | 422-3506020-03 | Трубопровод | |
4 | 1522М-3506040 | Трубопровод | |
5 | 651-3513705 | Баллон | |
6 | 1021-3506020 | Трубопровод | |
7 | 422-3512005 | Регулятор давления | |
8 | 5000.02 | Хомут с червячной резьбой 16-27 | |
9 | 70-1405013 | Заказать | Шланг |
10 | 70-1405112 | Хомутик | |
11 | 70-3506027 | Втулка | |
12 | Шайба С.10.01.019 | Шайба С.10.01.019 | |
13 | 651-3506021 | Трубопровод | |
14 | 320-3509005 | Компрессор | |
15 | 4600.21 | Шайба РМ22 | |
16 | 50А-3506010 | Штуцер | |
17 | 651-3506014 | Шланг | |
18 | 651-3514705 | Кран тормозной | |
19 | 422-3506020-02 | Трубопровод | |
20 | 1021-3506020-01 | Трубопровод | |
21 | 422-3521705 | Головка соединительная | |
22 | Кольцо 012-015-19-2-4 | Кольцо |
Содержащиеся в справочниках-каталогах запасные части и детали не предлагаются к продаже, а носят исключительно информационный характер