Каталог запасных частей к технике: МТЗ-1221.4. Балласт
/88.gif)
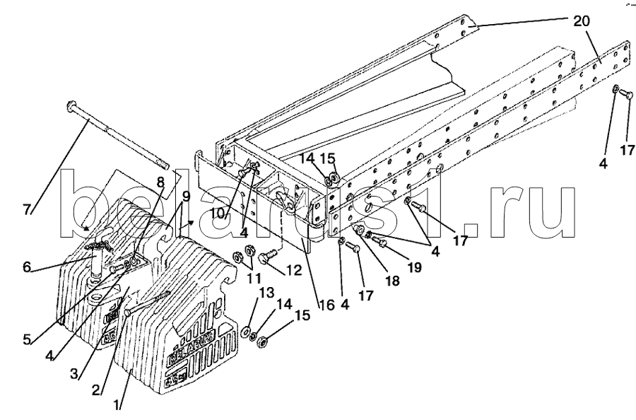
1
2
3
4
4
4
4
4
5
6
7
8
9
10
11
12
13
14
14
15
15
16
17
17
17
18
19
20
Позиция на иллюстрации | Заводской номер детали | Название детали | |
---|---|---|---|
1 | 80-4235011-A | Груз | |
2 | 1025-4235012 | Заказать | Болт |
3 | 85-4235025-Б | Проушина | |
4 | ШП16 | Шайба | |
5 | M16х45 | Болт | |
6 | 70-4235030 | Шкворень | |
7 | 1025-4235015-01 | Заказать | Струна |
8 | ШЧ16 | Шайба | |
9 | 1521-4235011-A | Груз | |
10 | M16х40 | Болт | |
11 | M18 | Гайка | |
12 | 70-4605036 | Заказать | Болт |
13 | 40-3502084 | Шайба | |
14 | ШП20 | Шайба | |
15 | M20 | Гайка | |
16 | 1521-4235020 | Заказать | Кронштейн |
17 | M16х50 | Болт | |
18 | 1521-4535029 | Втулка | |
19 | M16х60 | Болт | |
20 | 1222-4235012 | Заказать | Пластина левая |
Содержащиеся в справочниках-каталогах запасные части и детали не предлагаются к продаже, а носят исключительно информационный характер