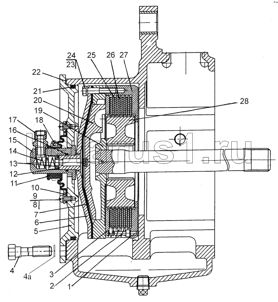
Каталог запасных частей к технике: МТЗ-1221.4. Механизм блокировки дифференциала «мокрого» типа
1
2
3
3
3
3
3
3
3
4
4а
5
6
7
8
9
10
11
12
13
14
15
16
17
18
19
20
21
22
23
24
25
26
27
28
| Позиция на иллюстрации | Заводской номер детали | Название детали | |
|---|---|---|---|
| 80М-2409010 | 80М-2409010 | Муфта блокировки | |
| 1221М-2409050 | 1221М-2409050 | Переходник | |
| 1 | 80М-2409002 | Палец | |
| 2 | 50-1702148-А | Заказать | Пружина фиксатора |
| 3 | 80М-2409028 | Диск отжимной | |
| 3 | 80М-2409028-01 | Диск отжимной | |
| 3 | 80М-2409028-02 | Диск отжимной | |
| 3 | 80М-2409028-03 | Диск отжимной | |
| 3 | 80М-2409028-04 | Диск отжимной | |
| 3 | 80М-2409028-05 | Диск отжимной | |
| 3 | 80М-2409028-06 | Диск отжимной | |
| 4 | 1221М-3502039 | Болт | |
| 4а | ШП14 | Шайба | |
| 5 | 1221М-2409034 | Крышка | |
| 6 | 70-2409030-Б | Заказать | Крышка диафрагмы |
| 7 | 70-2409021 | Заказать | Диафрагма |
| 8 | В.М6х10 | Винт | |
| 9 | ШП6 | Шайба | |
| 10 | 80М-2409037 | Кольцо | |
| 11 | 80М-2409036 | Заказать | Уплотнитель |
| 12 | 70-2409033-Б | Заказать | Кольцо |
| 13 | 70-2409027-А | Заказать | Втулка |
| 14 | 54-06-448-А | Заказать | Пружина |
| 15 | 70-2409026-Б | Заказать | Переходник |
| 16 | 020-025-30-1-4 | Кольцо | |
| 17 | 70-2409037 | Заказать | Штуцер |
| 18 | 32-50,9С6W | Хомут | |
| 19 | 70-2409020-02 | Заказать | Вал блокировочный |
| 20 | 80М-2409018 | Диск нажимной | |
| 21 | 205-215-58-2-2 | Заказать | Кольцо |
| 22 | 1221М-2409051 | Прокладка | |
| 23 | М8х40 | Болт | |
| 24 | ШП8 | Шайба | |
| 25 | 80М-2409016 | Заказать | Диск промежуточный |
| 26 | 2522-1802035-А | Диск ведущий | |
| 27 | 80М-2409015 | Корпус муфты | |
| 28 | 80М-2409001 | Ступица |
Содержащиеся в справочниках-каталогах запасные части и детали не предлагаются к продаже, а носят исключительно информационный характер