Каталог запасных частей к технике: МТЗ-1221.4. Цилиндр рабочий
/14.gif)
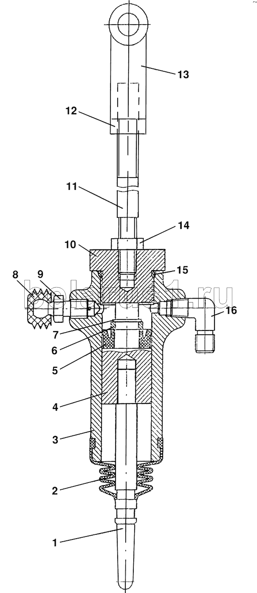
1
2
3
4
5
6
7
8
9
10
11
12
13
14
15
16
Позиция на иллюстрации | Заводской номер детали | Название детали | |
---|---|---|---|
1221В-1602550 | 1221В-1602550 | Заказать | Цилиндр рабочий |
1 | 80В-1602557 | Шток | |
2 | 142-1602569 | Чехол | |
3 | 1221В-1602551 | Корпус | |
4 | 1221В-1602556 | Поршень | |
5 | N14-102 | Манжета | |
6 | 1221В-1602517-Б | Втулка распорная | |
7 | С13 | Кольцо | |
8 | 142-1602377 | Колпачок | |
9 | 142-1602371 | Клапан перепускной | |
10 | 1221В-1602561 | Крышка | |
11 | 1221В-1602562-Б | Тяга | |
12 | М12x1,25 | Гайка | |
13 | 50-3502203 | Заказать | Вилка |
14 | ГайкаМ10 | Гайка | |
15 | 027-031-25-2-6 | Кольцо | |
16 | 822-3503037 | Заказать | Угольник ввертной |
Содержащиеся в справочниках-каталогах запасные части и детали не предлагаются к продаже, а носят исключительно информационный характер