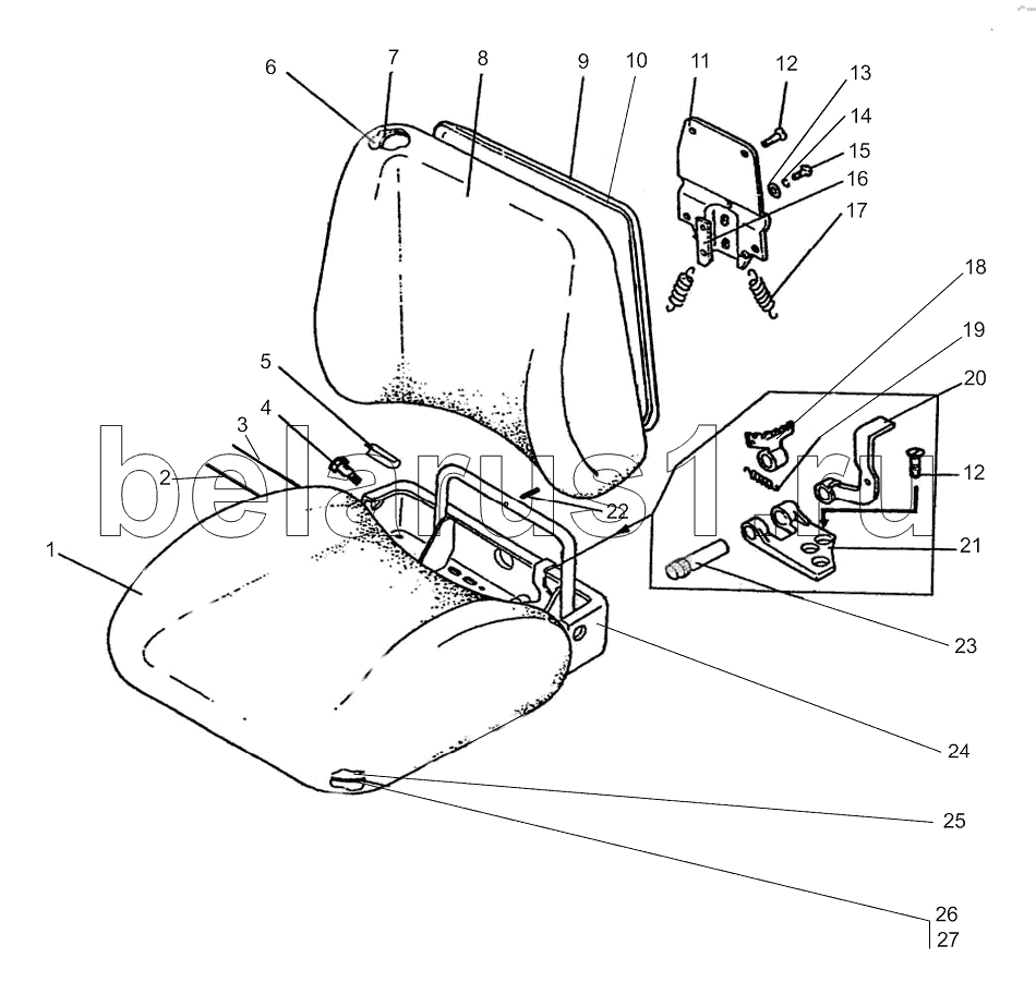
Каталог запасных частей к технике: МТЗ-1221.5. Сиденье оператора

1
2
3
4
5
6
7
8
9
10
11
12
12
13
14
15
16
17
18
19
20
21
22
23
24
25
26
27
Позиция на иллюстрации | Заводской номер детали | Название детали | |
---|---|---|---|
80В-6804000 | 80В-6804000 | Сиденье | |
1 | 80В-6804500 | Чехол | |
2 | 80В-6804003 | Пруток | |
3 | 80В-6804009 | Пруток | |
4 | 80В-6800106 | Болт | |
5 | 80В-6804015 | Втулка | |
6 | 80В-6805001 | Заказать | Подушка |
7 | 80В-6805002 | Рамка | |
8 | 80В-6805500 | Чехол | |
9 | ППР26-04 | Профиль | |
10 | 80В-6805010 | Основание | |
11 | 80В-6804040 | Опора | |
12 | ВинтВ.М8-6gx16.58.019 | Винт | |
13 | ШайбаС6.01.019 | Шайба | |
14 | Шайба6Т | Шайба | |
15 | БолтМ6-6gx14.88.35.019 | Болт М6-6gx14.88.35.019 | |
16 | 80В-6804001 | Зацеп | |
17 | 80В-6804013-Б | Пружина | |
18 | 80В-6804011 | Гребенка | |
19 | 50-1310158-Б | Пружина | |
20 | 80В-6804080 | Рычаг | |
21 | 80-6708011 | Петля | |
22 | Шплинт4х25.019 | Шплинт | |
23 | 70-6708189-01 | Ось | |
24 | 80В-6804020 | Панель | |
25 | 80В-6804007 | Заказать | Подушка |
26 | 80В-6804005 | Рамка | |
27 | ППР26-03 | Профиль |
Содержащиеся в справочниках-каталогах запасные части и детали не предлагаются к продаже, а носят исключительно информационный характер