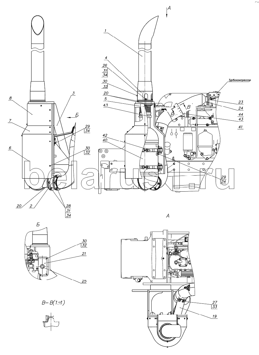
Каталог запасных частей к технике: МТЗ-1221.5. Установка глушителя

1
2
3
4
5
6
7
8
19
20
20
21
23
24
25
26
27
28
29
29
30
30
30
31
31
32
32
32
33
34
34
34
34
40
41
42
43
43
44
Позиция на иллюстрации | Заводской номер детали | Название детали | |
---|---|---|---|
1221.5-1205005 | 1221.5-1205005 | Установка глушителя | |
1 | 1221.5-1205110 | Труба глушителя | |
2 | 1221.5-1205120 | Патрубок | |
3 | 1221.5-1205835 | Установка кронштейна | |
4 | 2022.5-1205020 | Ограждение | |
5 | 2022.5-1205110 | Компенсатор | |
6 | 2022.5-1205760-Б | Ограждение | |
7 | 2022.5-1205775-Б | Ограждение | |
8 | 2022.5-1205780 | Ограждение | |
19 | 1221.5-1205856 | Кронштейн | |
20 | 2022.5-1205001 | Прокладка | |
21 | 2022.5-1205011 | Крышка | |
23 | 2022-1205006-Б | Прокладка | |
24 | 265-1205028-01 | Болт | |
25 | 70-3723042-02 | Втулка | |
26 | БолтМ10-6gx65.88.35.019 | Болт М10-6gx65.88.35.019 | |
27 | БолтМ8-6gx20.88.35.019 | Болт | |
28 | БолтМ10-6gx35.88.35.019 | Болт М10-6gx35.88.35.019 | |
29 | БолтМ10-6gx30.88.35.019 | Болт | |
30 | БолтМ6-6gx16.88.35.019 | Болт | |
31 | ГайкаМ10-6Н.04.019 | Гайка | |
32 | ШайбаС.6.01.019 | Шайба С.6.01.019 | |
33 | Шайба8Т | Шайба 8Т | |
34 | Шайба10.ОТ | Шайба | |
40 | 0452D202S4-00 | SCR-катализатор | |
41 | 0452D202T6-00 | Смесительная труба | |
42 | 0452B202M2-00 | Стяжной хомут SCR-катализатора | |
43 | 78803 | Хомут | |
44 | 000.4859.404.000 | Воздуховод | |
45 | 260-1008059 | Фланец |
Содержащиеся в справочниках-каталогах запасные части и детали не предлагаются к продаже, а носят исключительно информационный характер