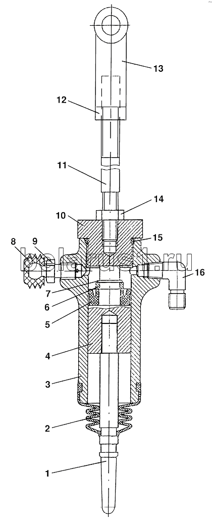
Каталог запасных частей к технике: МТЗ-1221 (2009). Цилиндр рабочий
1221В-1602550
1
2
3
4
5
6
7
8
9
10
11
12
13
14
15
16
| Позиция на иллюстрации | Заводской номер детали | Название детали | |
|---|---|---|---|
| 1221В-1602550 | 1221В-1602550 | Заказать | Цилиндр рабочий |
| 1 | 80В-1602557 | Шток | |
| 2 | 142-1602569 | Чехол | |
| 3 | 1221В-1602551 | Корпус | |
| 4 | 1221В-1602556 | Поршень | |
| 5 | N14-102(14x28x10)Simrit85БРОМУМОО282 | Манжета | |
| 6 | 1221В-1602517-Б | Втулка распорная | |
| 7 | С13 | Кольцо | |
| 8 | 142-1602377 | Колпачок | |
| 9 | 142-1602371 | Клапан перепускной | |
| 10 | 1221В-1602561 | Крышка | |
| 11 | 1221В-1602562-Б | Тяга | |
| 12 | М12x1,25 | Гайка | |
| 13 | 50-3502203 | Заказать | Вилка |
| 14 | ГайкаМ10 | Гайка | |
| 15 | 027-031-25-2-6 | Кольцо | |
| 16 | 822-3503037 | Заказать | Угольник ввертной |
Содержащиеся в справочниках-каталогах запасные части и детали не предлагаются к продаже, а носят исключительно информационный характер