Каталог запасных частей к технике: МТЗ-1222/1523. Тягово-сцепное устройство

1
2
2
3
4
5
5
6
7
8
9
10
10
11
12
13
14
15
16
17
17
18
18
19
19
20
21
21
21
21
22
22
22
23
24
25
25
26
27
28
29
30
31
32
32
33
34
34
34
35
36
37
37
38
40
41
42
43
44
45
46
47
48
49
50
51
52
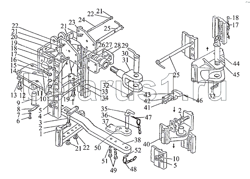
Позиция на иллюстрации | Заводской номер детали | Название детали | |
---|---|---|---|
1322-2707160 | 1322-2707160 | Пистон | |
1321-2707050-Б | 1321-2707050-Б | Заказать | Вилка |
2022-2707150 | 2022-2707150 | Тяга | |
1 | 1322-2707130 | Поперечина | |
2 | 1322-2707133 | Болт | |
3 | 1322-2707120-Б | Скоба | |
4 | 2022-2707062 | Направляющая | |
5 | M20x1,5 | Гайка | |
6 | M10x20 | Болт | |
7 | ШП10 | Шайба | |
8 | 1522-2707126 | Пластина | |
9 | 1522-2707127 | Ось | |
10 | ШП20 | Шайба | |
11 | 1522-2707020-Б | Плита | |
12 | 1321-2707014 | Заказать | Болт |
13 | 1222-2707137 | Пластина | |
14 | 1522-2707061-Б | Кронштейн | |
15 | 70-4605036 | Заказать | Болт |
16 | ШП20 | Шайба | |
17 | А61.05.004 | Кольцо | |
18 | А61.05.005 | Заказать | Чека |
19 | 680-2707024 | Заказать | Болт |
20 | 1321-2707070-Б | Пластина | |
21 | М16 | Гайка | |
22 | ШП16 | Шайба | |
23 | 1321-2707070-01 | Пластина | |
24 | 1522-2707244 | Заказать | Стяжка |
25 | 1522-2707030-Б | Заказать | Палец |
26 | 6,3x63 | Шплинт | |
27 | 1522-2707243 | Заказать | Гайка |
28 | 1522-2707242 | Шайба | |
29 | 1321-2707051-Б | Кронштейн | |
30 | 1321-2707040-Б | Шкворень | |
31 | 1321-2707052 | Заказать | Вилка |
32 | 1321-2707042 | Шплинт | |
33 | 2022-2707062-01 | Направляющая | |
34 | 1522-2707135-02 | Пластина | |
34 | 1522-2707135-01 | Пластина | |
34 | 1522-2707135 | Пластина | |
35 | 1522-2707079-А | Шкворень | |
36 | 70-4235035 | Цепочка | |
37 | 1523-2707143 | Накладка | |
37 | 1523-2707145 | Накладка | |
38 | 2022-2707144 | Тяга | |
40 | 1322-2707165 | Плита с пистоном | |
41 | 1322-2707162-01 | Палец | |
42 | 1322-2707180 | Палец | |
43 | 1322-2707161 | Упор | |
44 | 1321-2707111-А | Заказать | Вилка |
45 | 1321-2707140-Б | Шкворень | |
46 | 4x36 | Шплинт | |
47 | 3,2x25 | Шплинт | |
48 | Н50-4202146 | Кольцо | |
49 | 1523-2707149 | Болт | |
50 | 1523-2707142 | Скоба | |
51 | 1523-2707146 | Шайба | |
52 | А61.07.001-А | Шплинт |
Содержащиеся в справочниках-каталогах запасные части и детали не предлагаются к продаже, а носят исключительно информационный характер