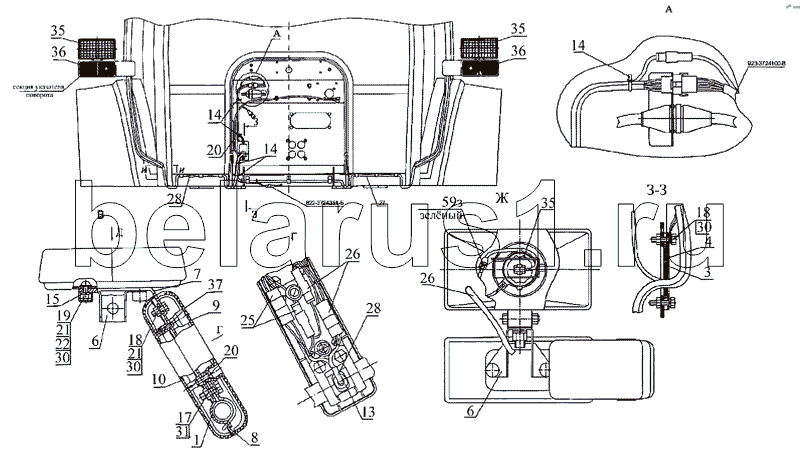
Каталог запасных частей к технике: МТЗ-1222/1523. Установка фонарей передних

1
3
4
6
6
7
8
9
10
13
14
14
14
15
17
18
18
19
20
20
21
21
22
25
26
26
27
28
28
30
30
30
31
35
35
35
36
36
37
Позиция на иллюстрации | Заводской номер детали | Название детали | |
---|---|---|---|
1 | 920-3712010 | Кронштейн | |
3 | 923-3712016 | Прокладка | |
4 | 923-3712017 | Кронштейн | |
5 | 923-3723042 | Втулка | |
6 | 920-3711011 | Кронштейн | |
7 | 920-3712012 | Кронштейн | |
8 | 920-3712013 | Скоба | |
9 | 920-3712021 | Кожух | |
10 | 920-3712022 | Кожух | |
13 | 70-3723042-01 | Втулка | |
14 | 80-3723045 | Манжета | |
15 | АЗ0.04.017 | Колпачок | |
17 | БолтM8-6gx16.88.35.019ГОСТ7796-70 | Болт M8-6gx16.88.35.019 ГОСТ 7796-70 | |
18 | БолтМ6gх18.88.35.019ГОСТ7798-70 | Болт М6gх18.88.35.019 ГОСТ 7798-70 | |
19 | 912075 | Винт B.M6-6gx18.58.019 ГОСТ 17473-80 | |
20 | 912077 | Винт B.M6-6gx18.58.019 ГОСТ 17475-80 | |
21 | ГайкаМ6-6Н.6.019ГОСТ5915-70 | Гайка М6-6Н. 6.019 ГОСТ 5915-70 | |
22 | ШайбаС6.01.019ГОСТ11371-78 | Шайба С 6.01.019 ГОСТ 11371-78 | |
24 | Жгут923-3724130-ВГОСТ23544-84 | Жгут 923-372413 0-В ГОСТ 23544-84 | |
25 | Жгут923-3724140-БГОСТ23544-84 | Жгут 923-3 724140-Б ГОСТ 23544-84 | |
26 | Жгут923-3724142ГОСТ23544-84 | Жгут 923-3724142 ГОСТ 23544-84 | |
27 | Жгут923-3724145-БГОСТ23544-84 | Жгут923-3724145-Б ГОСТ 23544-84 | |
28 | Жгут923-3724146-БГОСТ23544-84 | Жгут 923-3 724146-Б ГОСТ 23544-84 | |
30 | Шайба6ТОСТ37.001.115-75 | Шайба 6Т ОСТ 37.001.115-75 | |
31 | Шайба8ТОСТ37.001.115-75 | Шайба 8Т ОСТ 37.001.115-75 | |
35 | 8724.304/011 | Заказать | Фара |
36 | 3712.10 | Фонарь передний с боковым повторителем | |
37 | Шуруп4x16.019 | Шуруп 4x16.019 |
Содержащиеся в справочниках-каталогах запасные части и детали не предлагаются к продаже, а носят исключительно информационный характер