Каталог запасных частей к технике: МТЗ-1523. Баки топливные

1
2
2
3
3
3
4
4
4
4
4
4
4
5
5
6
7
8
9
10
11
12
12
13
14
15
16
17
18
19
20
21
22
23
24
25
26
27
28
29
30
31
31
32
32
33
34
35
36
37
38
38
39
40
41
42
43
44
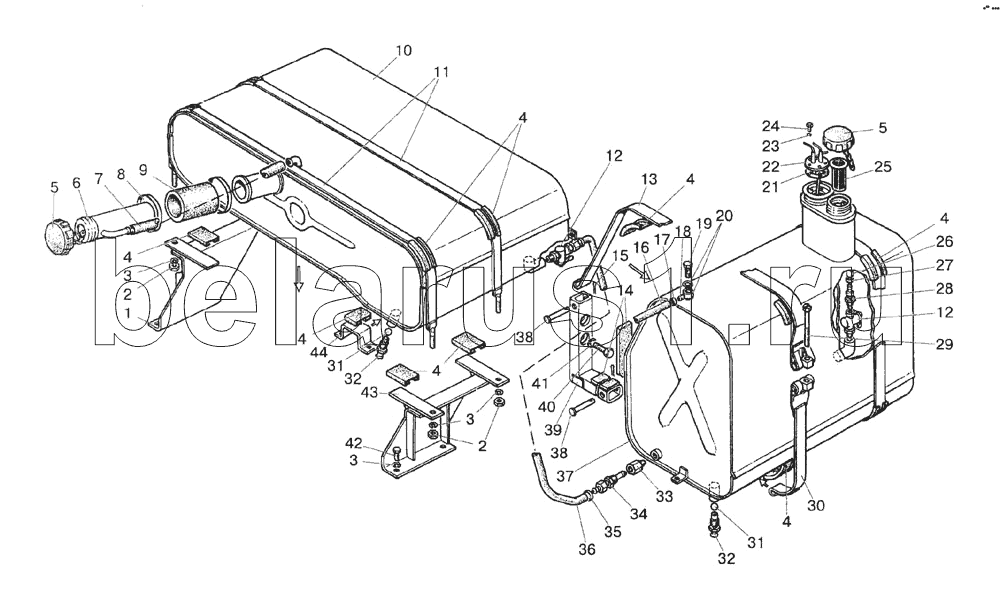
Позиция на иллюстрации | Заводской номер детали | Название детали | |
---|---|---|---|
1 | 1522-1101080 | Кронштейн | |
2 | М10 | Гайка | |
3 | ШП10 | Шайба | |
4 | ПР-43-02 | Прокладка | |
5 | 082-1103010 | Заказать Заказать Заказать Заказать | Пробка |
6 | 1522-1101060 | Горловина | |
7 | 85-1101002 | Трубка | |
8 | ХС-66 | Хомут | |
9 | 70-1101035-Б-01 | Рукав | |
10 | 1522-1101010 | Заказать | Бак |
11 | 1522-1101090 | Хомут | |
12 | Кр-25 | Кран | |
13 | 1522-1101140-01 | Заказать | Лента |
14 | 1522-1101118 | Прокладка | |
15 | 3,2х18 | Шплинт | |
16 | 1522-1101181 | Трубка | |
17 | 50-3407063 | Хомутик | |
18 | 50-1104786 | Угольник | |
19 | 36-1104787 | Заказать | Болт |
20 | 36-1104788 | Прокладка | |
21 | 1522-3806026 | Прокладка | |
22 | 38-0164-45-004 | Датчик уровня топлива | |
23 | 80-1101067 | Шайба | |
24 | ВМ5х16 | Винт | |
25 | 082-1101040 | Фильтр | |
26 | 1522-1101040 | Топливопровод | |
27 | 50-4605069 | Заказать | Втулка |
28 | 50-1104250 | Штуцер | |
29 | 1522-1101005 | Болт | |
30 | 1522-1101140 | Заказать | Лента |
31 | 11.112.3722-81 | Шарик | |
32 | 822-1101081 | Заказать | Штуцер |
33 | 1522-1101205 | Штуцер | |
34 | 50-1104250 | Штуцер | |
35 | 70-1101025-03 | Трубка | |
36 | 50-4605069-01 | Втулка | |
37 | 1522-1101210 | Заказать | Бак |
38 | 1522-1101125 | Палец | |
39 | 1522-1101130 | Кронштейн | |
40 | М16Х50 | Болт | |
41 | ШП16 | Шайба | |
42 | М10х25 | Болт | |
43 | 1522-1101070 | Кронштейн | |
44 | 1522-1101112 | Кронштейн |
Содержащиеся в справочниках-каталогах запасные части и детали не предлагаются к продаже, а носят исключительно информационный характер