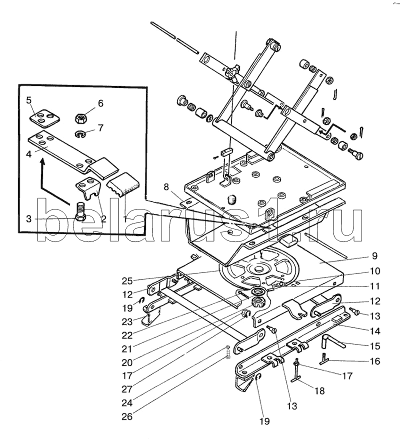
Каталог запасных частей к технике: МТЗ-1523. Механизм реверса

1
2
3
4
5
6
7
8
9
10
11
12
12
13
13
14
15
16
17
17
18
19
19
20
21
22
23
24
25
26
27
Позиция на иллюстрации | Заводской номер детали | Название детали | |
---|---|---|---|
2522-680700-01 | 2522-680700-01 | Механизм реверса в сборе | |
1 | 80В-6804066 | Накладка | |
2 | 1522-6807101 | Стопор | |
3 | М6х14 | Болт | |
4 | 80В-6807009Б | Рычаг | |
5 | 80В-6804014 | Накладка | |
6 | М6 | Гайка | |
7 | ШП6 | Шайба | |
8 | 1522-6807160 | Панель | |
9 | 2522-6807120 | Панель | |
10 | 15,081 | Шарик | |
11 | 80-1716041 | Пружина | |
12 | 2522-6807040 | Шатун | |
13 | 2522-6807001 | Ось | |
14 | 2522-6807010 | Кронштейн левый | |
15 | 80В-6807040 | Зажим | |
16 | 80В-6807050 | Винт | |
17 | М10 | Гайка | |
18 | 1522-6807150 | Винт | |
19 | 70-6801307 | Шайба | |
20 | А04.02.020 | Заказать Заказать | Гайка |
21 | ШЧ27 | Шайба | |
22 | 5х45 | Шплинт | |
23 | 2522-6807010-01 | Кронштейн правый | |
24 | ШП8 | Шайба | |
25 | 80В-6807070 | Диск | |
26 | М8х20 | Болт | |
27 | ШП10 | Шайба |
Содержащиеся в справочниках-каталогах запасные части и детали не предлагаются к продаже, а носят исключительно информационный характер