Каталог запасных частей к технике: МТЗ-1523. Регулятор давления

1
2
3
4
5
6
7
8
8
9
10
11
11
12
13
13
13
14
15
16
16
17
17
18
19
20
21
22
23
24
25
26
27
28
29
30
31
32
33
34
35
36
37
38
39
40
41
42
43
44
45
46
47
48
49
50
51
52
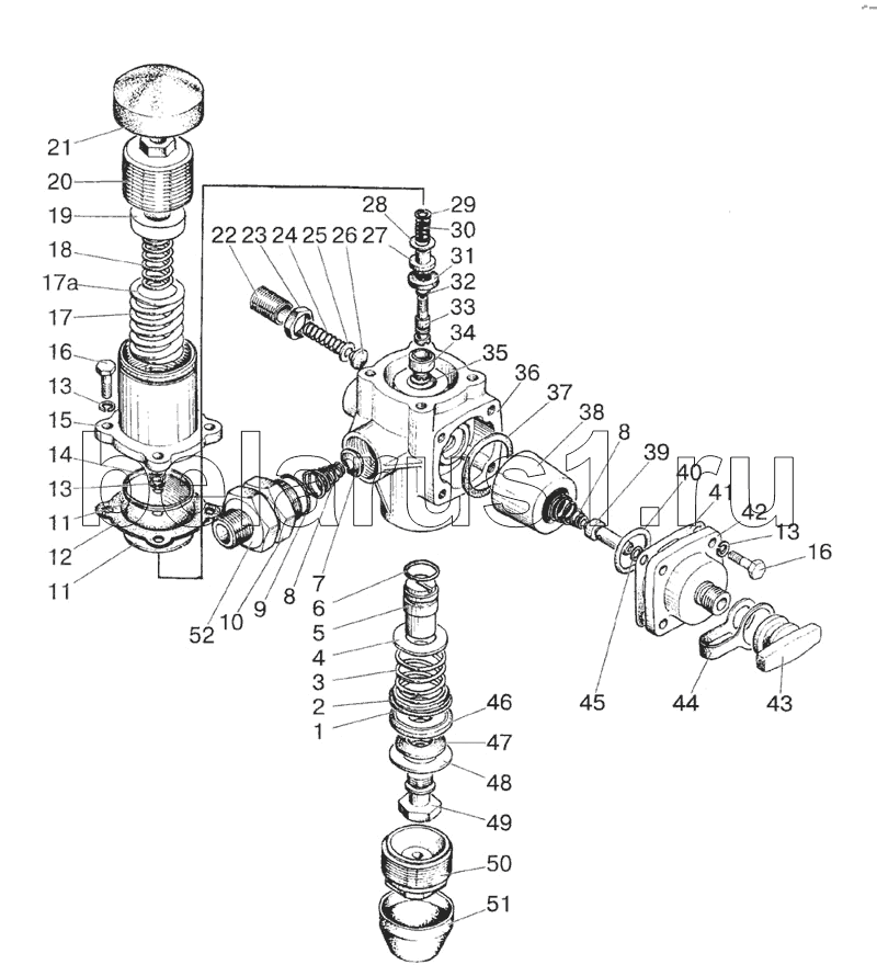
Позиция на иллюстрации | Заводской номер детали | Название детали | |
---|---|---|---|
80-3512141 | 80-3512141 | Диафрагма | |
80-3512020 | 80-3512020 | Клапан в сборе | |
80-3512010 | 80-3512010 | Заказать | Регулятор давления |
1 | 80-3512113 | Прокладка | |
2 | 036-040-25-1-4 | Кольцо | |
3 | 80-3512026 | Пружина | |
4 | 80-3512027 | Шайба | |
5 | 80-3512028 | Поршень | |
6 | 016-020-25-2-2 | Заказать | Кольцо |
7 | 80-3512110 | Клапан | |
8 | 80-3512131 | Пружина | |
9 | 024-028-25-2-2 | Кольцо | |
10 | 80-3512111 | Штуцер | |
11 | 80-3512032 | Шайба | |
12 | 80-3512050 | Диафрагма | |
13 | ШП6 | Шайба | |
14 | М6 | Гайка | |
15 | 80-3512106 | Корпус | |
16 | М6х20 | Винт | |
17 | 80-3512109 | Шайба | |
17 | 80-3512104 | Пружина | |
18 | 80-3512105 | Пружина | |
19 | 80-3512109-01 | Колпачок | |
20 | 80-3512107 | Крышка | |
21 | 80-3512108 | Колпак | |
22 | 80-3512134 | Винт | |
23 | 80-3512115 | Гайка | |
24 | 80-3512116 | Пружина | |
25 | 80-3512129 | Шайба | |
26 | 80-3512130 | Клапан | |
27 | 80-3512036 | Втулка | |
28 | 80-3512143 | Шайба | |
29 | 80-3512142 | Прокладка | |
30 | 80-3512034 | Пружина | |
31 | 80-3512037 | Клапан | |
32 | 007-010-19-1-3 | Кольцо | |
33 | 80-3512038 | Золотник | |
34 | 80-3512103 | Седло | |
35 | 80-3512133 | Прокладка | |
36 | 80-3512040 | Корпус | |
37 | 80-3512127 | Прокладка | |
38 | 80-3512119 | Фильтр | |
39 | 80-3512122 | Толкатель | |
40 | 024-030-36-2-3 | Кольцо | |
41 | 80-3512125 | Прокладка | |
42 | 80-3512123 | Крышка | |
43 | 105.069.05.005 | Гайка | |
44 | 105.069.05.006 | Лента | |
45 | 006-010-25-1-4 | Кольцо | |
46 | 80-3512022 | Седло | |
47 | 80-3512023 | Втулка | |
48 | 80-3512021 | Шайба | |
49 | 80-3512024 | Стержень | |
50 | 80-3512102 | Крышка | |
51 | 80-3512101 | Насадка | |
52 | 80-3512006 | Контргайка |
Содержащиеся в справочниках-каталогах запасные части и детали не предлагаются к продаже, а носят исключительно информационный характер