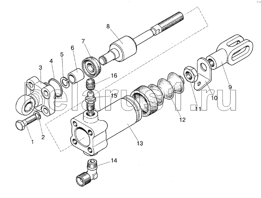
Каталог запасных частей к технике: МТЗ-1523. Цилиндр рабочий

1
2
3
4
5
6
7
8
9
10
11
12
13
14
15
16
Позиция на иллюстрации | Заводской номер детали | Название детали | |
---|---|---|---|
1522-3502550 | 1522-3502550 | Цилиндр рабочий | |
1 | М8х25 | Болт | |
2 | ШП8 | Шайба | |
3 | 80В-3503565 | Крышка | |
4 | 024-028-25-2-2 | Кольцо | |
5 | А13 | Кольцо | |
6 | 1221В-1602517 | Втулка распорная | |
7 | 14-102/282 | Манжета | |
8 | 80В-1602556 | Поршень | |
9 | 1221В-3503551 | Вилка | |
10 | 80-1602116 | Ушко | |
11 | М12х1,25 | Гайка | |
12 | 142-1602569 | Чехол | |
13 | 80В-1602551 | Корпус | |
14 | 822-3503037 | Заказать | Угольник ввертной |
15 | 142-1602371 | Клапан перепускной | |
16 | 142-1602377 | Колпачок |
Содержащиеся в справочниках-каталогах запасные части и детали не предлагаются к продаже, а носят исключительно информационный характер