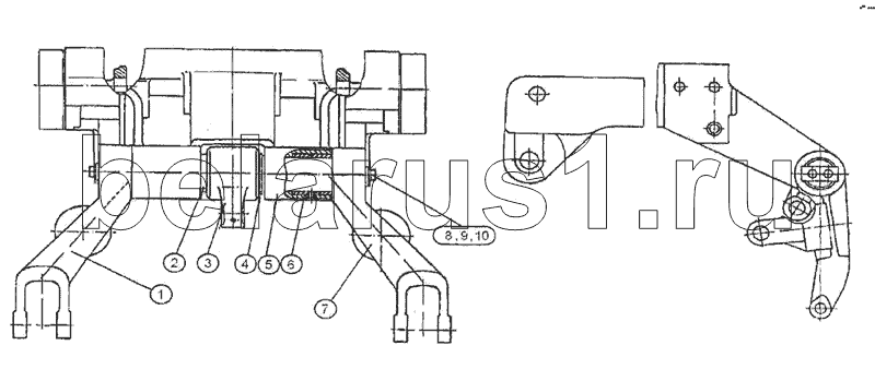
Каталог запасных частей к технике: МТЗ-1523.4. Кронштейн

1220-4606110
1
2
3
4
5
6
7
8
9
10
Позиция на иллюстрации | Заводской номер детали | Название детали | |
---|---|---|---|
1220-4606110 | 1220-4606110 | Кронштейн | |
1 | 1220-4606020 | Рычаг | |
2 | 70-4605023 | Заказать Заказать Заказать | Вал поворотный |
3 | 1220-4606013 | Рычаг | |
4 | 2С65 | Кольцо | |
5 | 12204606011 | Кронштейн | |
6 | 70-4605032 | Заказать | Втулка |
7 | 1220-4606020-01 | Рычаг | |
8 | 12 ОТ | Шайба | |
9 | M12-6gx25.88.35.019 | Болт | |
10 | 40-4605023-А2 | Шайба |
Содержащиеся в справочниках-каталогах запасные части и детали не предлагаются к продаже, а носят исключительно информационный характер