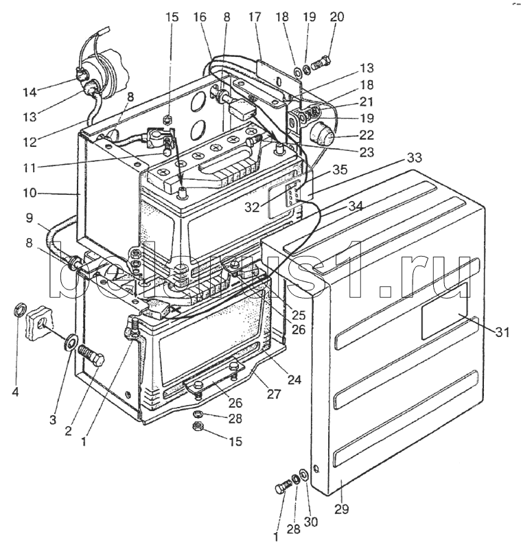
Каталог запасных частей к технике: МТЗ-1523.4. Установка батарей аккумуляторных

1
1
2
3
4
8
8
8
9
10
11
12
13
13
14
15
15
16
17
18
18
19
19
20
21
22
23
24
25
26
26
27
28
28
29
30
31
32
33
34
35
Позиция на иллюстрации | Заводской номер детали | Название детали | |
---|---|---|---|
1 | М8х20 | Болт | |
2 | М16х40 | Болт | |
3 | ШЧ16 | Шайба | |
4 | ШП16 | Шайба | |
8 | 50-4607064 | Втулка | |
9 | 1221В-3724044В | Провод | |
10 | 1221В-3703010-02 | Контейнер | |
11 | М8х30 | Болт | |
12 | 1221В-3724041 | Заказать | Провод |
13 | ТМ-59-6000-38 | Наконечник резиновый | |
14 | 54.24.445-Б | Наконечник | |
15 | М8 | Гайка | |
16 | 923-3724042 | Заказать | Провод |
17 | 1522-3703025 | Кожух | |
18 | ШЧ6 | Шайба | |
19 | ШП6 | Шайба | |
20 | М6Х16 | Болт | |
21 | М6 | Гайка | |
22 | 3737.15 | Выключатель батарей 24В дистанционный | |
23 | М6х20 | Винт | |
24 | 3703.26 | Батарея аккумуляторная 12/120 | |
25 | 1221В-3724075 | Провод | |
26 | 80В-3703020 | Заказать | Прижим |
27 | 1221 В-3703010 | Контейнер | |
28 | ШЧ8 | Шайба | |
29 | 1221В-3703020-01 | Кожух | |
30 | ШЧ8 | Шайба | |
31 | 822-3801341-Б | Щиток | |
32 | 3722.55 | Блок предохранителей | |
33 | 1222.4-3722001 | Кронштейн | |
34 | 920-3724368-Б | Провод | |
35 | 1222.4-3724045 | Провод |
Содержащиеся в справочниках-каталогах запасные части и детали не предлагаются к продаже, а носят исключительно информационный характер