Каталог запасных частей к технике: МТЗ-1523.6. Тягово-сцепное устройство

1
2
3
4
4
5
6
7
7
8
9
9
9
10
11
12
12
12
15
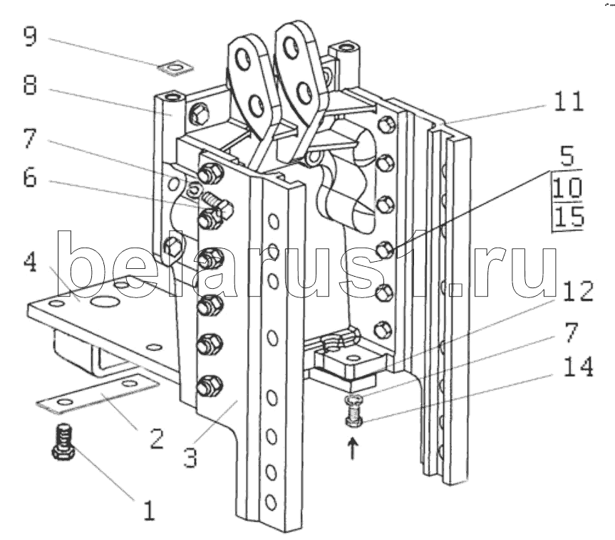
Позиция на иллюстрации | Заводской номер детали | Название детали | |
---|---|---|---|
2022-2707010 | 2022-2707010 | Тягово-сцепное устройство | |
1 | 1321-2707014 | Заказать | Болт |
2 | 1222-2707137 | Пластина | |
3 | 2022-2707062-А | Направляющая | |
4 | 1522-2707021-Б | Пластина | |
4 | 1522-2707020-Б | Плита | |
5 | ГайкаМ20х1,5-6Н.04.019 | Гайка | |
6 | 70-4605036 | Заказать | Болт |
7 | Шайба20.ОТ | Шайба | |
8 | 1522-2707061-Б | Кронштейн | |
8 | 2022-2707060 | Кронштейн | |
9 | 1522-2707074 | Шайба | |
9 | 1522-2707074-01 | Шайба | |
9 | 1522-2707074-02 | Шайба | |
10 | 1522-2707149-01 | Болт | |
11 | 2022-2707062-А-01 | Направляющая | |
12 | 1522-2707135 | Пластина | |
12 | 1522-2707135-01 | Пластина | |
12 | 1522-2707135-02 | Пластина | |
15 | Шайба20.ОТ | Шайба |
Содержащиеся в справочниках-каталогах запасные части и детали не предлагаются к продаже, а носят исключительно информационный характер