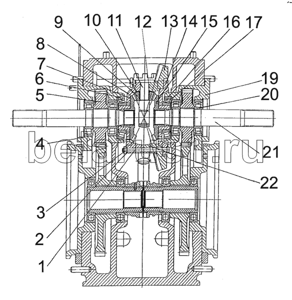
Каталог запасных частей к технике: МТЗ-2022. Дифференциал, стакан подшипников
2022-2403010
2022-2407060
1
2
3
4
5
6
7
8
9
10
11
12
13
14
15
16
17
19
20
21
22
| Позиция на иллюстрации | Заводской номер детали | Название детали | |
|---|---|---|---|
| 2022-2403010 | 2022-2403010 | Дифференциал | |
| 2022-2407060 | 2022-2407060 | Стакан подшипников | |
| 1 | 2022-2403034 | Болт | |
| 2 | 2022-2403023 | Пластина стопорная | |
| 3 | М12 | Гайка | |
| 4 | С 125 | Кольцо | |
| 5 | 2022-2407052 | Шестерня | |
| 6 | 7216А | Подшипник | |
| 7 | 2022-2403049 | Шайба | |
| 8 | 2022-2403019-Б | Крышка | |
| 9 | 2022-2403055 | Сателлит | |
| 10 | 2022-2403025-Б | Шайба сателлита | |
| 11 | 2022-2403062-Б | Крестовина | |
| 12 | 4х29,8А3 | Ролик | |
| 13 | 2022-2403021 | Шестерня ведомая | |
| 14 | 2022-2403018 | Корпус | |
| 15 | 2022-2403048 | Шестерня полуосевая | |
| 16 | 30216 | Подшипник | |
| 17 | 2022-2407043 | Кольцо | |
| 19 | 2022-2407042 | Стакан подшипников | |
| 20 | 42311М1 | Подшипник | |
| 21 | 2022-2407053 | Вал | |
| 22 | 2022-2403017-Б | Проставка |
Содержащиеся в справочниках-каталогах запасные части и детали не предлагаются к продаже, а носят исключительно информационный характер