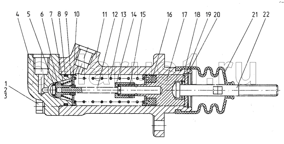
Каталог запасных частей к технике: МТЗ-2022. Цилиндр главный 2022-1602810
2022-1602810
1
2
3
4
5
6
7
8
9
10
11
12
13
14
15
16
16
17
18
19
20
21
22
| Позиция на иллюстрации | Заводской номер детали | Название детали | |
|---|---|---|---|
| 2022-1602810 | 2022-1602810 | Заказать Заказать | Цилиндр главный |
| 1 | М8х25 | Болт | |
| 2 | М8х40 | Болт | |
| 3 | 8Т | Шайба | |
| 4 | 2022-1602812 | Крышка | |
| 5 | 007-011-25-1-6 | Кольцо | |
| 6 | 2022-1602823 | Клапан | |
| 7 | 2022-1602838 | Пружина | |
| 8 | 024-028-25-2-4 | Кольцо | |
| 9 | М5 | Гайка | |
| 10 | 2022-1602824 | Шайба | |
| 11 | 2022-1602811 | Корпус | |
| 12 | 2022-1602822 | Толкатель | |
| 13 | 2022-1602841 | Пружина | |
| 14 | 2022-1602827 | Гайка накидная | |
| 15 | 2022-1602826 | Гайка | |
| 16 | N14-102 | Манжета | |
| 16 | 85 EPDMV MOO 282 | Simrit | |
| 17 | 2022-1602821 | Поршень | |
| 18 | С16 | Шайба | |
| 19 | С 16 | Шайба | |
| 20 | С30 | Кольцо | |
| 21 | 142-1602569 | Чехол | |
| 22 | 2022-1602813 | Толкатель |
Содержащиеся в справочниках-каталогах запасные части и детали не предлагаются к продаже, а носят исключительно информационный характер