Каталог запасных частей к технике: МТЗ-2022. Цилиндр рабочий 1523-1602550

1523-1602550
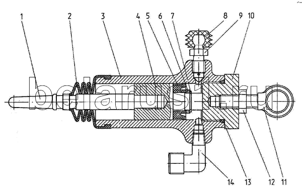
1
2
3
4
5
6
7
8
9
10
11
12
13
14
Позиция на иллюстрации | Заводской номер детали | Название детали | |
---|---|---|---|
1523-1602550 | 1523-1602550 | Заказать | Цилиндр рабочий |
1 | 80В-1602557 | Шток | |
2 | 142-1602569 | Чехол | |
3 | 1221В-1602551 | Корпус | |
4 | 1221В-1602556 | Поршень | |
5 | N14-102 (14x28x10) Simrit 85 EPDMV MOO 282 | Манжета | |
6 | 1221В-1602517-Б | Втулка распорная | |
7 | С13 | Кольцо | |
8 | 142-1602377 | Колпачок | |
9 | 142-1602371 | Клапан перепускной | |
10 | 1221В-1602561 | Крышка | |
11 | 1523-1602566 | Опора | |
12 | М10 | Гайка | |
13 | 027-031-25-2-6 | Кольцо | |
14 | 822-3503037 | Заказать | Угольник ввертной |
Содержащиеся в справочниках-каталогах запасные части и детали не предлагаются к продаже, а носят исключительно информационный характер