Каталог запасных частей к технике: МТЗ-2022. Цилиндр рабочий 822-1602550-Б-01
822-1602550-Б-01
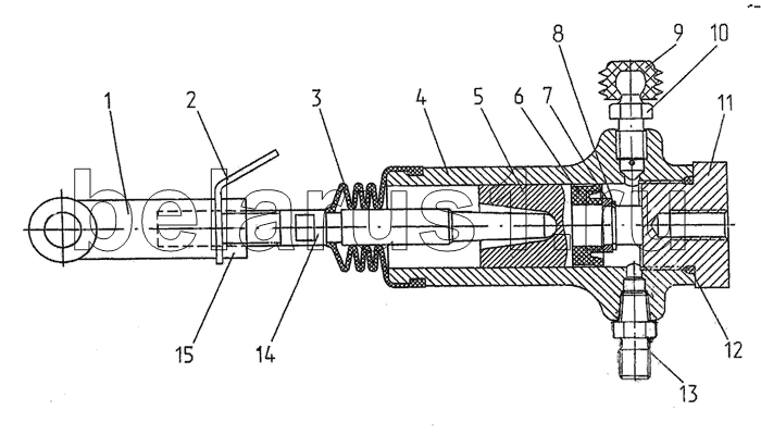
1
2
3
4
5
6
6
7
8
9
10
11
12
13
14
15
| Позиция на иллюстрации | Заводской номер детали | Название детали | |
|---|---|---|---|
| 822-1602550-Б-01 | 822-1602550-Б-01 | Цилиндр рабочий | |
| 1 | 50-3502203 | Заказать | Вилка |
| 2 | 80-1602116 | Ушко | |
| 3 | 142-1602569 | Чехол | |
| 4 | 1221В-1602551 | Корпус | |
| 5 | 822-1602556-Б | Поршень | |
| 6 | N14-102 | Манжета | |
| 6 | Simrit 85 EPDMV MOO 282 | Simrit 85 EPDMV MOO 282 | |
| 7 | 1221В-1602517-Б | Втулка распорная | |
| 8 | С13 | Кольцо | |
| 9 | 142-1602377 | Колпачок | |
| 10 | 142-1602371 | Клапан перепускной | |
| 11 | 1221В-1602561 | Крышка | |
| 12 | OR ЕРОМ 70 02700250 | Кольцо резиновое уплотнительное | |
| 13 | 80-1701549 | Заказать | Штуцер |
| 14 | 822-1602112 | Тяга | |
| 15 | М12х1,25 | Гайка |
Содержащиеся в справочниках-каталогах запасные части и детали не предлагаются к продаже, а носят исключительно информационный характер