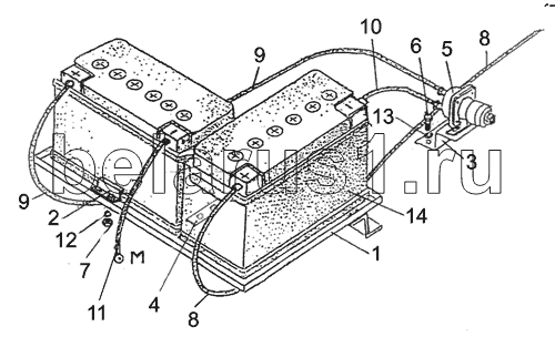
Каталог запасных частей к технике: МТЗ-2022. Установка батарей аккумуляторных

1
2
3
4
5
6
7
8
8
9
9
10
11
12
13
14
Позиция на иллюстрации | Заводской номер детали | Название детали | |
---|---|---|---|
1 | 920-3703010-Б-01 | Основание | |
2 | 80В-3703020-02 | Прижим | |
3 | 2022-3710011 | Кронштейн | |
4 | 80В-3703012-01 | Прижим | |
5 | ПР-32-02 | Уплотнитель | |
6 | M10-6gx20.88.35.019 | Болт | |
7 | М8-6Н.6.019 | Гайка | |
8 | 2022-3724041 | Провод | |
9 | 2022-3724044 | Провод | |
10 | 923-3724042 | Заказать | Провод |
11 | 1221В-3724075 | Провод | |
12 | 8Т | Шайба | |
13 | 10 ОТ | Шайба | |
14 | 12/120 | Батарея аккумуляторная |
Содержащиеся в справочниках-каталогах запасные части и детали не предлагаются к продаже, а носят исключительно информационный характер