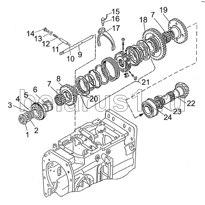
Каталог запасных частей к технике: МТЗ-2022. Вал вторичный

1
2
3
4
5
6
7
7
8
9
10
11
12
13
14
15
16
17
18
19
20
21
21
22
23
24
Позиция на иллюстрации | Заводской номер детали | Название детали | |
---|---|---|---|
2022-1701050 | 2022-1701050 | Вал-шестерня | |
2022-2403014 | 2022-2403014 | Комплект шестерен главной передачи | |
1 | 80-1701045 | Заказать Заказать | Гайка |
2 | 1522-1701354 | Заказать | Шайба |
3 | 1522-1701254 | Шайба 0,2 мм | |
4 | 1522-1701254-01 | Шайба 0,5 мм | |
5 | 6-67512АШ2 | Подшипник | |
6 | 1522-1701350 | Втулка | |
7 | КК75х86х40Е | Подшипник | |
8 | 2022-1701314-Б | Шестерня | |
9 | 1222-1702037 | Поводок | |
10 | 10,0-60 | Заказать | Шарик ГОСТ 3722-81 |
11 | 85-1702048 | Штифт | |
12 | 50-1702148-А | Заказать | Пружина фиксатора |
13 | 85-1702051 | Шайба | |
14 | М12x25 | Болт | |
15 | 1,6-0-С | Проволока | |
16 | 80-1702108 | Заказать | Болт |
17 | 1222-1702029 | Заказать | Вилка |
18 | 2022-1701312-Б | Шестерня | |
19 | 2125-1701313-Б | Заказать | Шестерня |
20 | 2025-1701349-Б | Втулка | |
21 | GT-D109/116 | Синхронизатор | |
21 | 3.30647.3 | Синхронизатор | |
22 | 2022-1701252 | Вал | |
23 | 2022-1701253 | Заказать | Кольцо |
24 | 6-62761ЗА1К | Подшипник |
Содержащиеся в справочниках-каталогах запасные части и детали не предлагаются к продаже, а носят исключительно информационный характер