Аркадак
Эль-Монте ваш город?
Да
Выбрать другой город
Написать в
WhatsApp
Написать в
Telegram
Каталог

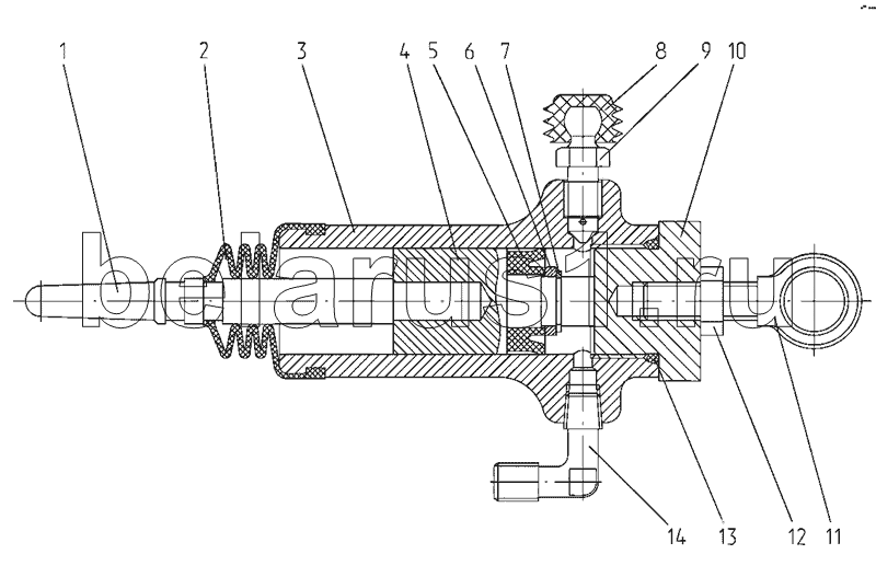
Каталог запасных частей к технике: МТЗ-2522. Цилиндр рабочий

zoom-in zoom-out enlarge shrink circle-right circle-left file-text2 info cart
1523-1602550-01
1
2
3
4
5
6
7
8
9
10
11
12
13
14
Позиция на иллюстрации Заводской номер детали Название детали
1523-1602550-01 1523-1602550-01 Заказать Цилиндр рабочий
1 80В-1602557 Шток
2 142-1602569 Чехол
3 1221В-1602551 Корпус
4 1221В-1602556 Поршень
5 N14-102 Манжета
6 1221В-1602517-Б Втулка распорная
7 С13 Кольцо
8 142-1602377 Колпачок
9 142-1602371 Клапан перепускной
10 1221В-1602561 Крышка
11 1523-1602566 Опора
12 М10-6Н.6.019 Гайка
13 027-031-25-2-6 Кольцо
14 86-1802088 Заказать Угольник
Содержащиеся в справочниках-каталогах запасные части и детали не предлагаются к продаже, а носят исключительно информационный характер