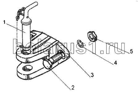
Каталог запасных частей к технике: МТЗ-310, 320, 321. Буксир передний

1
2
3
4
5
Позиция на иллюстрации | Заводской номер детали | Название детали | |
---|---|---|---|
80-2806010-01 | 80-2806010-01 | Буксир передний | |
1 | 70-4235030 | Шкворень | |
2 | 70-4605036 | Заказать | Болт |
3 | 80-2806011-А | Заказать | Буксир передний |
4 | 20.ОТ | Шайба | |
5 | М20-6Н.6.019 | Гайка |
Содержащиеся в справочниках-каталогах запасные части и детали не предлагаются к продаже, а носят исключительно информационный характер