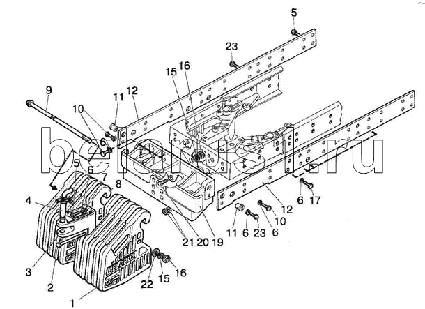
Каталог запасных частей к технике: МТЗ-570. Балласт
1025-4235010
1025-4235010-01
1
2
3
4
5
5
6
6
6
6
7
8
9
9
10
10
11
11
12
12
15
15
16
16
17
19
20
21
22
23
23
| Позиция на иллюстрации | Заводской номер детали | Название детали | |
|---|---|---|---|
| 1025-4235010 | 1025-4235010 | Балласт | |
| 1025-4235010-01 | 1025-4235010-01 | Балласт | |
| 1 | 80-4235011-A | Груз | |
| 2 | 1025-4235012 | Заказать | Болт |
| 3 | 85-4235025-Б | Проушина | |
| 4 | 70-4235030 | Шкворень | |
| 5 | M16-6gx45.88.35.019 | Болт | |
| 6 | 16ОТ | Шайба ОСТ 37.001.115-75 | |
| 7 | С16.01.019 | Шайба | |
| 8 | 1521-4235011-A | Груз | |
| 9 | 1025-4235015-02 | Струна | |
| 9 | 1025-4235015-01 | Заказать | Струна |
| 10 | M16-6gx32.88.35.019 | Болт | |
| 11 | 80-4235029 | Втулка | |
| 12 | 80-4235028/-01 | Пластина левая/правая | |
| 15 | 20ОТ | Шайба | |
| 16 | M20-6H.6.019 | Гайка | |
| 17 | M16-6gx40.88.35.019 | Болт | |
| 19 | 1521-4235020 | Заказать | Кронштейн |
| 20 | 70-4605036 | Заказать | Болт |
| 21 | M18-6H.6.019 | Гайка | |
| 22 | 40-3502084 | Шайба | |
| 23 | M16-6gx50.88.35.019 | Болт |
Содержащиеся в справочниках-каталогах запасные части и детали не предлагаются к продаже, а носят исключительно информационный характер