Каталог запасных частей к технике: МТЗ-570. Механизм правого однорычажного управления КП

1
1
1
1
1
2
3
4
5
6
7
8
8
9
10
11
12
13
14
15
16
17
18
19
20
20
21
22
23
24
25
26
27
28
29
30
30
30
31
32
33
34
35
36
37
37
38
39
40
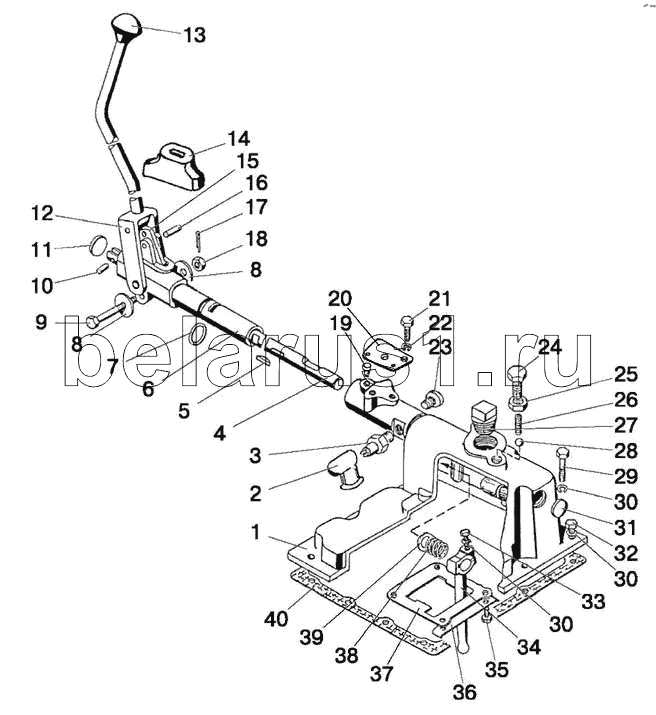
Позиция на иллюстрации | Заводской номер детали | Название детали | |
---|---|---|---|
1 | 70-1703010-А1 | Заказать | Крышка |
1 | 70-1703010-А1-01 | Крышка КП | |
1 | 70-1703010-А1-02 | Крышка КП | |
1 | 70-1703010-А1-03 | Крышка КП | |
1 | 70-1703025-Б | Крышка | |
2 | 50Л-3724050 | Чехол | |
3 | ВК12-51 | Выключатель ТУ РБ37334210.015-97 | |
4 | 70-1703201-Б-01 | Заказать | Вал |
5 | СШ-611 | Заказать | Шпонка |
6 | 70-1703210-Б | Заказать | Опора |
7 | 030-034-25-1-4 | Заказать | Кольцо |
8 | С12.01.019 | Шайба | |
9 | 50-2403034-01 | Болт | |
10 | ШЦК8x20 | Штифт | |
11 | 35-10кл.Ц9.xр | Заглушка | |
12 | 70-1703220-А | Заказать Заказать | Рычаг |
13 | 70-1702125 | Заказать | Рукоятка |
14 | 70-1703203-А | Заказать | Чехол |
15 | 70-1703202-А | Заказать | Поводок |
16 | ШЦК8x25 | Штифт | |
17 | 3,2x25.019 | Шплинт | |
18 | М12-6Н.04.019 | Гайка | |
19 | 70-1703205 | Заказать | Стопор |
20 | 952-1802030 | Кронштейн | |
20 | 80-3503048 | Заказать | Кронштейн |
21 | М12-6дx20.88.35.019 | Болт | |
22 | 12ОТ | Шайба ОСТ 37.001.115-75 | |
23 | 70-1702053 | Пробка | |
24 | 70-1703204 | Заказать | Болт |
25 | М16-6Н.04.019 | Гайка | |
26 | 50-1702148-А | Заказать | Пружина фиксатора |
27 | ПККГ11/4 | Пробка | |
28 | 13,8-60 | Шарик 13,8 мм | |
29 | М10-6дx60.88.35.019 | Болт | |
30 | 10ОТ | Шайба ОСТ 37.001.115-75 | |
31 | 28-10кп.Ц9.xр | Заглушка | |
32 | М10-6дx35.88.35.019 | Болт | |
33 | М10-6дx30.88.35.019 | Болт | |
34 | 70-1703011 | Заказать | Рычаг |
35 | М10-6gx18.88.35.019 | Болт | |
36 | 50-1702107-А | Пластина стопорная | |
37 | 74-1702084 | Пластина ограничительная | |
37 | 70-1703084 | Заказать | Пластина |
38 | 70-1703057 | Пружина | |
39 | 70-1703058 | Шайба | |
40 | 50-1702026 | Прокладка |
Содержащиеся в справочниках-каталогах запасные части и детали не предлагаются к продаже, а носят исключительно информационный характер