Каталог запасных частей к технике: МТЗ-570. Установка фонарей передних

Н80-3712010-01
1
2
2
3
3
4
4
5
5
6
7
8
9
10
11
11
12
13
14
15
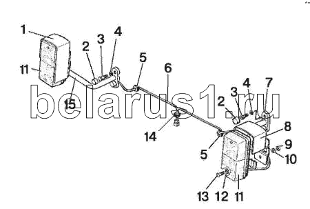
Позиция на иллюстрации | Заводской номер детали | Название детали | |
---|---|---|---|
Н80-3712010-01 | Н80-3712010-01 | Установка передних фонарей | |
1 | 85-3712045 | Заказать | Кожух правый |
2 | А30.04.017-01 | Заказать | Колпачок |
3 | M8-6gx20.88.35.019 | Болт | |
4 | 8Т | Шайба | |
5 | 70-3723042-01 | Втулка | |
6 | Н80-3724131 | Жгут | |
7 | Н80-3712040 | Заказать | Кронштейн |
8 | 85-3712045-01 | Заказать | Кожух левый |
9 | М6-6Н.6.019 | Гайка | |
10 | 6Т | Шайба | |
11 | 3712.10 | Фонарь передний с боковым повторителем | |
12 | С6.01.019 | Шайба | |
13 | В.М6-6gx18.58.019 | Винт | |
14 | 70-3723042-02 | Втулка | |
15 | 80-3723040 | Кронштейн |
Содержащиеся в справочниках-каталогах запасные части и детали не предлагаются к продаже, а носят исключительно информационный характер