Каталог запасных частей к технике: МТЗ-80 (2002). 3805 Стенка, крышка
/88.gif)
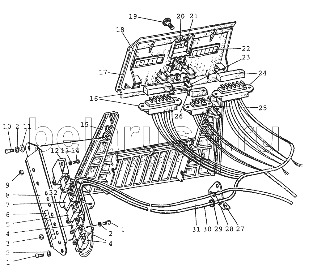
1
1
2
2
2
3
4
4
5
6
7
8
9
10
11
12
12
13
14
15
16
17
18
19
20
21
21
22
23
24
25
26
27
28
29
30
31
32
Позиция на иллюстрации | Заводской номер детали | Название детали | |
---|---|---|---|
1 | ГОСТ17473-80 | Винт ВМ6-6gх12.58.019 | |
2 | OCT37.001.115-75 | Шайба 6Т | |
3 | ГОСТ5915-70 | Гайка М6-6Н.6.019 | |
4 | 90.3747 | Реле | |
5 | БКП-1 | Блок предохранителей | |
6 | 80-3805025-В | Табличка | |
7 | БУС-1 | Блок предохранителей | |
8 | 80-3805070 | Панель | |
9 | ГОСТ5915-70 | Гайка М6-6Н.6.019 | |
10 | ГОСТ17473-80 | Винт ВМ6-6gх12.58.019 | |
11 | ГОСТ11371-78 | Шайба С6.01.08кп.019 | |
12 | ЭРП | Прерыватель указателей поворота | |
12 | 8586.6/0031 | Прерыватель указателей поворота | |
13 | ОСТ37.001.115-75 | Шайба 8Т | |
14 | ГОСТ17473-80 | Винт ВМ6-6gх12.58.019 | |
15 | 80-3805041 | Заказать | Стенка |
16 | БП-2 | Заказать Заказать | Блок предохранителей |
17 | 80-3805061 | Заказать | Крышка |
18 | 80-3805027-В | Заказать | Табличка |
19 | 80-3805065 | Винт | |
20 | 80-3805037-В | Табличка | |
21 | ГОСТ18829-73 | Кольцо 009-013-25-2-1 | |
21 | ГОСТ9833-73 | Кольцо 010-015-30-2-3 | |
22 | 80-3805026 | Табличка | |
23 | ИКСУ741134.002 | Держатель | |
24 | БП-1 | Заказать Заказать | Блок предохранителей |
25 | БП-6 | Заказать Заказать | Блок предохранителей |
26 | Шуруп 4x10.019 | Шуруп 4x10.019 | |
27 | 80-3805043 | Кронштейн | |
28 | 70-3723042-01 | Втулка | |
29 | 70-3723042-02 | Втулка | |
30 | 80-3724395-Б | Жгут | |
31 | 80-3724512-Б | Жгут | |
32 | 732.3747 | Заказать | Реле стартера |
Содержащиеся в справочниках-каталогах запасные части и детали не предлагаются к продаже, а носят исключительно информационный характер