Каталог запасных частей к технике: МТЗ-80 (2009). Электрооборудование двигателя
/37.1.gif)
80-3700030-Г
1
1
1
1
1
1
2
2
3
4
5
6
7
8
9
10
10
10
10
11
12
12
13
13
14
15
16
17
18
19
20
21
22
23
24
25
26
26
27
28
28
29
30
31
32
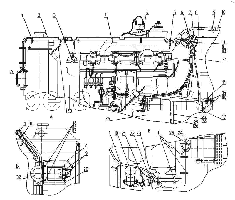
Позиция на иллюстрации | Заводской номер детали | Название детали | |
---|---|---|---|
80-3700030-Г | 80-3700030-Г | Электрооборудование по двигателю в сборе | |
1 | 80-3723045-01 | Манжета | |
2 | 80-3724345-В | Жгут | |
3 | 3844.10 | Датчик аварийной температуры | |
4 | 3845.10 | Датчик засоренности воздухоочистителя (ДСФ-65) | |
5 | 3828.10 | Датчик указателя температуры (ДУТЖ-02) | |
6 | 3722.40 | Блок предохранителей (БП-11) | |
7 | 80-3724368-Б | Провод | |
8 | 80-3747021 | Кронштейн | |
9 | 80-3723016 | Кронштейн | |
10 | 80-3724360-Ж | Жгут | |
10 | 82П-3724360 | Жгут | |
11 | ВМ6х20 | Винт | |
12 | М6 | Гайка | |
13 | ШП6 | Шайба | |
14 | 822-3723044 | Хомутик | |
15 | М8х16 | Болт | |
16 | ШП8 | Шайба | |
17 | 70-4802060 | Кронштейн | |
18 | М6х16 | Винт | |
19 | 70-3723035 | Наконечник | |
20 | 3759.10 | Преобразователь напряжения | |
21 | 3829.10 | Датчик давления масла в двигателе (ДД-6М) | |
22 | 80-3829002 | Штуцер | |
23 | 3829.15 | Датчик аварийного давления Масла (ДАДМ-03) | |
24 | ТМ-59-6000-38 | Наконечник резиновый | |
25 | М2-14.13.238 | Чехол | |
26 | 3708.10 | Стартер 12В | |
26 | 3708.15 | Стартер 24В | |
27 | М12x45 | Болт | |
28 | ШП12 | Шайба | |
29 | М12x30 | Болт | |
30 | 82П-3724230 | Жгут | |
31 | 1221В-3724340-В | Жгут | |
32 | 3721.10 | Сигнал звуковой (20.3721-01) |
Содержащиеся в справочниках-каталогах запасные части и детали не предлагаются к продаже, а носят исключительно информационный характер