Каталог запасных частей к технике: МТЗ-80 (2009). Тент-каркас. Основание
/67.2.gif)
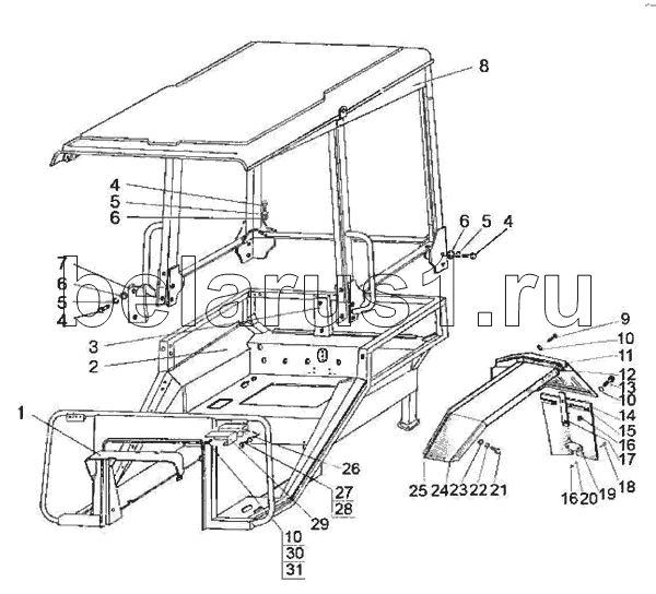
80-6700510
1
2
3
4
4
4
5
5
5
6
6
6
7
8
9
10
10
10
11
11
12
13
14
15
16
16
17
18
19
20
21
22
23
24
24
25
26
26
27
28
29
29
30
31
Позиция на иллюстрации | Заводской номер детали | Название детали | |
---|---|---|---|
80-6700510 | 80-6700510 | Тент-каркас с основанием в сборе | |
1 | 85-6703056 | Заказать | Вставка |
2 | 80-6702510 | Основание | |
3 | 80-6700511 | Накладка | |
4 | М12x25 | Болт | |
5 | ШП12 | Шайба | |
6 | ШЧ12 | Шайба | |
7 | 80-6700511-01 | Накладка | |
8 | 80-6701505 | Каркас | |
9 | М6х16 | Винт | |
10 | ШЧ6 | Шайба | |
11 | 80-8404020-Б | Заказать | Закрылок левый |
11 | 80-8404020-Б-01 | Заказать | Закрылок правый |
12 | 80-8404014-А | Заказать | Уплотнитель |
13 | М6х25 | Винт | |
14 | 85-8404040-А | Брызговик | |
15 | 80-8404032 | Заказать | Пластина |
16 | М6 | Гайка | |
17 | 80-8404031-Б | Заказать | Пружина |
18 | М6х16 | Винт | |
19 | 80-8404034-А | Заказать | Пластина |
20 | А37.01022 | Шайба | |
21 | М8х20 | Болт | |
22 | ШП8 | Шайба | |
23 | ШЧ8 | Шайба | |
24 | 80-8404011-Б | Заказать | Крыло левое |
24 | 80-8404011-Б | Заказать | Крыло левое |
25 | 80-8404014-А | Заказать | Уплотнитель |
26 | 85-3712041 | Заказать | Кронштейн правый |
26 | 85-3712041-01 | Заказать | Кронштейн левый |
27 | М8х14 | Болт | |
28 | М8 | Гайка | |
29 | 85-3712045 | Заказать | Кожух правый |
29 | 85-3712045-01 | Заказать | Кожух левый |
30 | ВМ6х18 | Винт | |
31 | ШП6 | Шайба |
Содержащиеся в справочниках-каталогах запасные части и детали не предлагаются к продаже, а носят исключительно информационный характер