Аркадак
Эль-Монте ваш город?
Да
Выбрать другой город
Написать в
WhatsApp
Написать в
Telegram
Каталог

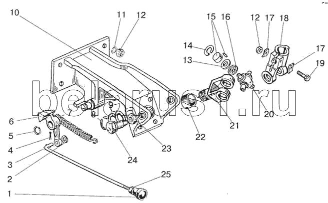
Каталог запасных частей к технике: МТЗ-822. Колонка рулевая

zoom-in zoom-out enlarge shrink circle-right circle-left file-text2 info cart
1
2
3
4
5
6
7
8
9
10
11
12
12
13
14
15
16
17
17
18
19
20
21
22
23
24
25
Позиция на иллюстрации Заводской номер детали Название детали
1 70-3709012-А Ручка переключателя
2 ШЧ6 Шайба
3 822-3401001 Тяга
4 1,6х12 Шплинт
5 Б18 Кольцо
6 85-3401014-01 Фиксатор
7 50-1310158-Б Пружина
8 2620 Кольцо
9 80-3401019 Шайба
10 822-3401120 Кронштейн
11 ШП10 Шайба
12 М10 Гайка
13 50-3401064 Сальник
14 Б19 Кольцо
15 904700УС17 Подшипник
16 50-3401063 Обойма
17 80-3401013 Шайба
18 50-3401061-А Вилка
19 М10х45 Болт
20 50-3401062 Заказать Заказать Заказать Крестовина
21 85-3401156-Б Вилка (ОSРВ-100)
22 80-3401016 Втулка
23 М20х1,5 Гайка
24 80-3401089 Винт
25 М6 Гайка
Содержащиеся в справочниках-каталогах запасные части и детали не предлагаются к продаже, а носят исключительно информационный характер