Каталог запасных частей к технике: МТЗ-923. Балласт

1
2
3
4
5
6
6
6
6
6
6
7
8
9
10
10
11
11
11
12
13
14
14
15
15
16
16
17
18
18
19
20
21
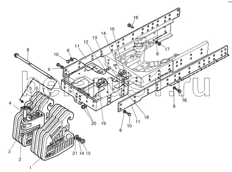
Позиция на иллюстрации | Заводской номер детали | Название детали | |
---|---|---|---|
1 | 80-4235011-А | Груз | |
2 | 1025-4235012 | Заказать | Болт |
3 | 85-4235025-Б | Проушина | |
4 | 70-4235030 | Шкворень | |
5 | М16х45 | Болт | |
6 | ШП16 | Шайба | |
7 | ШЧ16 | Шайба | |
8 | 1521-4235011-А | Заказать | Груз |
9 | 1025-4235015-02 | Струна | |
10 | М16х32 | Болт | |
11 | 923-4235028 | Полоса | |
11 | 822-4235028 | Полоса | |
12 | 54-38.619 | Кольцо стопорное | |
13 | 50-4605027 | Заказать | Штифт |
14 | ШП20 | Шайба | |
15 | М20 | Гайка | |
16 | М16х40 | Болт | |
17 | М16 | Гайка | |
18 | 923-4235016 | Кронштейн | |
18 | 822-4235016 | Кронштейн | |
19 | 70-4605036 | Заказать | Болт |
20 | М18 | Гайка | |
21 | 40-3502084 | Шайба |
Содержащиеся в справочниках-каталогах запасные части и детали не предлагаются к продаже, а носят исключительно информационный характер