Каталог запасных частей к технике: МТЗ-923. Электрооборудование по кабине

1
2
3
3
3
3
3
3
3
3
3
3
3
4
4
4
4
5
5
6
7
7
8
9
10
11
12
13
13
14
15
16
17
17
18
19
20
21
22
23
23
24
25
26
27
28
29
30
30
30
31
31
32
33
33
34
34
35
35
36
36
37
37
38
38
39
39
39
40
40
40
41
41
42
42
42
42
43
43
44
44
45
46
47
48
49
50
51
52
53
54
55
56
57
58
59
60
61
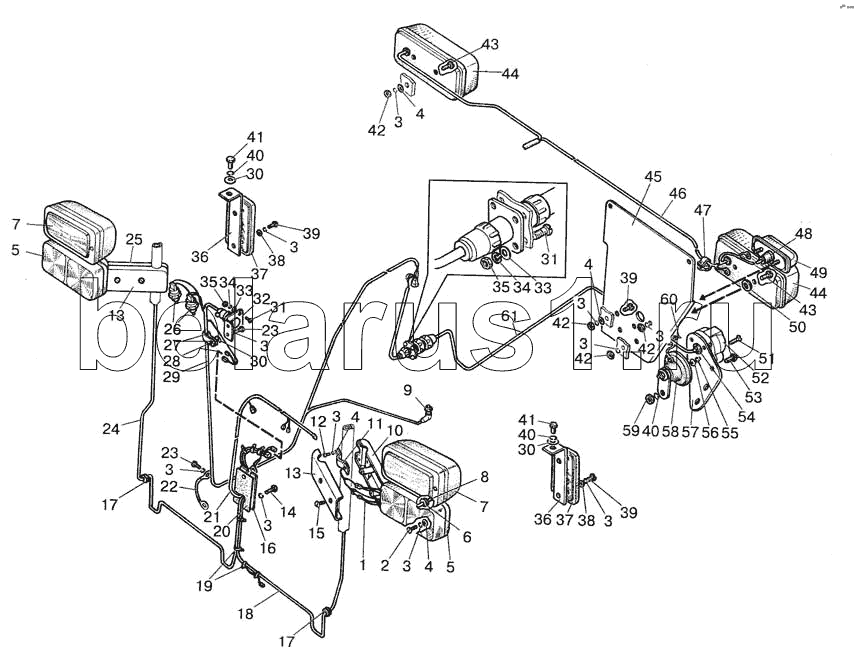
Позиция на иллюстрации | Заводской номер детали | Название детали | |
---|---|---|---|
1 | 923-3724140 | Жгут | |
2 | ВМ6х18 | Винт | |
3 | ШП6 | Шайба | |
4 | ШЧ6 | Шайба | |
5 | 3713.3712 | Фонарь передний | |
6 | 70-3723042-01 | Втулка | |
7 | 05.524.000 | Фара дорожная | |
8 | 923-3724141 | Жгут | |
9 | ВК409 | Заказать | Выключатель |
10 | 1522-3712005-01 | Кронштейн | |
11 | 1522-3712007 | Скоба | |
12 | М6х18 | Винт | |
13 | 1522-3712003 | Кронштейн | |
14 | М6х25 | Винт | |
15 | ВМ6х18 | Винт | |
16 | 923-3712017 | Кронштейн | |
17 | 923-3723042 | Втулка | |
18 | 923-3724142 | Жгут | |
19 | 80-3723045 | Манжета | |
20 | 923-3712016 | Прокладка | |
21 | 923-3724130 | Жгут | |
22 | 822-3724012 | Провод | |
23 | М6х12 | Винт | |
24 | 923-3724146 | Жгут | |
25 | 1522-3712005 | Кронштейн | |
26 | ВК12-2 | Заказать | Выключатель |
27 | ПР-32-04 | Уплотнитель | |
28 | 822-3723044 | Хомутик | |
29 | 923-3724100 | Жгут кабины | |
30 | ШЧ10 | Шайба | |
31 | ВМ3х16 | Винт | |
32 | 923-3723003 | Кронштейн | |
33 | ШЧ3 | Шайба | |
34 | ШП3 | Шайба | |
35 | М3 | Гайка | |
36 | Ф50-3731011 | Кронштейн | |
37 | 3202.3731 | Световозвращатель | |
38 | ШП6 | Шайба | |
39 | ВМ6х16 | Винт | |
40 | ШП8 | Шайба | |
41 | М8х14 | Болт | |
42 | М6 | Гайка | |
43 | ВМ6х20 | Винт | |
44 | 7303.3716 | Заказать Заказать | Фонарь задний |
45 | 923-3716011 | Кронштейн | |
46 | 923-3724160-Б | Жгут | |
47 | 70-1115012-04 | Хомутик | |
48 | 54.24.445-Б | Наконечник | |
49 | ФП131А | Фонарь освещения номерного знака | |
50 | 80-6708904 | Заказать | Прокладка |
51 | ВМ5х35 | Винт | |
52 | Р9-1 | Заказать | Розетка |
53 | М8х20 | Болт | |
54 | ЦИКС 754524009 | Чехол | |
55 | ШП5 | Шайба | |
56 | М5 | Гайка | |
57 | 923-3723041 | Кронштейн | |
58 | 20.3721-01 | Заказать Заказать Заказать | Прибор звуковой сигнализации |
59 | М8 | Гайка | |
60 | 80-3723045-01 | Манжета | |
61 | 923-3724201-Б | Жгут розетки |
Содержащиеся в справочниках-каталогах запасные части и детали не предлагаются к продаже, а носят исключительно информационный характер