Каталог запасных частей к технике: МТЗ-923. Тягово-сцепное устройство

1321-2707010-Б
1322-2707010-Б
1
2
3
4
5
6
6
7
8
9
10
10
11
12
13
14
15
16
17
17
17
17
18
19
20
21
21
22
23
24
25
26
27
28
29
30
31
31
32
33
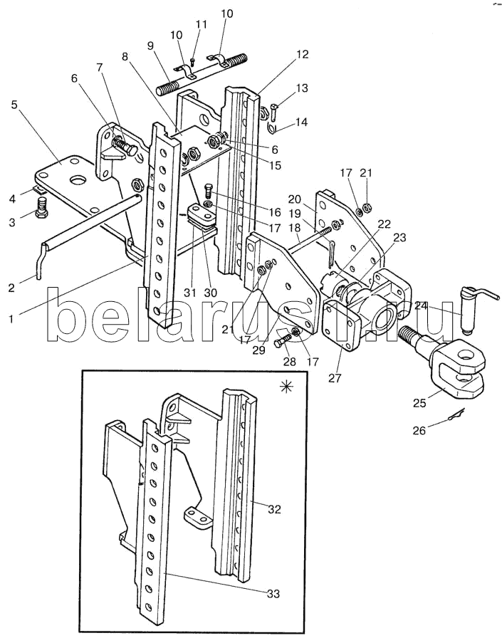
Позиция на иллюстрации | Заводской номер детали | Название детали | |
---|---|---|---|
1321-2707010-Б | 1321-2707010-Б | Тягово-сцепное устройство | |
1322-2707010-Б | 1322-2707010-Б | Тягово-сцепное устройство | |
1 | 1321-2707060-Б-01 | Заказать | Боковина левая |
2 | 1522-2707030 | Палец | |
3 | 1321-2707014 | Заказать | Болт |
4 | 1222-2707137 | Пластина | |
5 | 1321-2707011-Б | Плита | |
6 | ШП20 | Шайба | |
7 | 70-4605036 | Заказать | Болт |
8 | 1321-2707080-Б | Щиток | |
9 | 1321-2707074 | Заказать | Стяжка |
10 | 1321-2707083-Б | Скоба | |
11 | М6х12 | Винт | |
12 | 1321-2707060-Б | Боковина правая | |
13 | А61.05.005 | Заказать | Чека |
14 | А61.05.004 | Кольцо | |
15 | 1321-2707013 | Заказать | Гайка |
16 | 1220-4605506 | Заказать | Болт |
17 | ШП16 | Шайба | |
18 | 1522-2707244 | Заказать | Стяжка |
19 | 6,3х63 | Шплинт | |
20 | 1321-2707070-Б | Пластина | |
21 | М16 | Гайка | |
22 | 1522-2707243 | Заказать | Гайка |
23 | 1522-2707242 | Шайба | |
24 | 1321-2707040-Б | Шкворень | |
25 | 1321-2707052 | Заказать | Вилка |
26 | 1321-2707042 | Шплинт | |
27 | 1321-2707051 | Кронштейн | |
28 | 680-2707024 | Заказать | Болт |
29 | 1321-2707070Б-01 | Пластина | |
30 | 900-2707135 | Пластина | |
31 | 900-2707135-01 | Пластина | |
31 | 900-2707135-02 | Пластина | |
32 | 1322-2707060-Б | Заказать | Боковина правая |
33 | 1322-2707060Б-01 | Боковина левая |
Содержащиеся в справочниках-каталогах запасные части и детали не предлагаются к продаже, а носят исключительно информационный характер